这世上大多数发明的专利,都是为了更好的偷懒!
发布时间:2018-12-18现在用电动牙刷的人
是越来越多了对吧
虽然能省点力
但对于很懒的人来说
还是希望用一种
更方便的刷牙工具
这样子的人真是
	
不过蜗牛纳自己
也没资格说别人
如果有条件的话
我能比他们还更懒
只是有人的懒却是
懒出了境界
懒出了水平和智慧
不信的话就看厦门六中的
郑淳友和陈霖莹
这两名初中生分别发明的
两种电动牙刷
	
先来看郑淳友同学的发明
他的灵感来自奶奶的假牙
当时就想设计一种
带牙套的牙刷
这样就可以清洁每颗牙
于是他在今年暑假
就开始够细、画图、制模具
并不断地调整设计方案
最终借助3D打印技术
才有了牙套型牙刷
	
这个发明看上去
很像长着翅膀的
八分音符
外观设计挺有新意
再看陈霖莹同学的发明
Y字形牙刷
该牙刷上带有
两个球型刷头
不仅方便使用者
同时刷好两排牙
并且还为刷牙过程
增添了不少乐趣
	
这两位同学的发明
在KIDE国际发明暨设计展上
都获得了金牌奖
而郑淳友同学还获得了
WIIPA(世界发明联盟总会)大会
最佳电子设计类特别奖
	
蜗牛纳真是老了
同样是懒人
这两位同学
是懒出了新发明来
这时候蜗牛纳突然想知道
国内究竟有多少
像这样的懒人发明
	
还记得前几天淘宝
发布的《懒人消费数据》吗
内容显示2018年中国人
为偷懒花了160亿
	
从消费偏好看
淘宝上的偷懒人群各
因为懒需求的不同
成长出了许多“特别人类”
平躺生物、弯腰障碍患者
家务指挥专家等各类消费者
因此在产品方面
出现了十大懒人神器
这让蜗牛纳大开眼界
	
顺便提一句
这些懒人神器
可都是申请了专利噢
咱们根据十大懒人神器
挨个搜搜看
快乐肥宅椅
基本上会想买这种
电脑座舱
	
但看了下价格
打扰了打扰了
不是我们能消费得起
但也有别的椅子可选呀
比如这一种
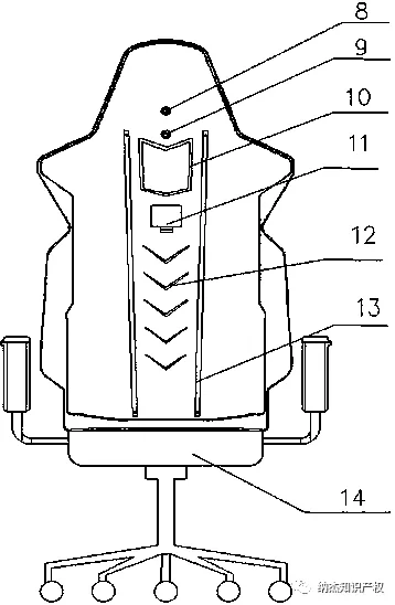
多功能电竞椅
	
或者这种
可调节式懒人沙发
	
都是物美价廉的好东西
买来随便坐
坐坏了也不会心疼
懒人火锅
如果想在办公室
家里或旅行中
吃上一顿热乎的火锅
那么就很需要这个神奇了
一种自热火锅包装盒
	
不管是什么店都需要
这个能自加热的
火锅包装盒
能够让你用最短时间
吃到某店自制的火锅
懒人洗袜子
相信有很多人
都为洗袜子的事情烦恼
跟其他衣服放在一起洗
怕衣服上有异味
自己手洗吧
又不愿意动手
既然如此就机器洗
比如下面的
一种简易自动洗袜机
	
要是能消毒的话就更好了
一种袜子加工用消毒柜
能够满足这种需求
	
从此以后妈妈
再也不用担心我
没有袜子可穿了
肥懒人洗内裤
有了洗袜机
自然也会有洗内裤机
可别图省钱一机两用
为了身体健康着想
蜗牛纳建议最好分开洗
不想占地方就考虑这种
伸缩式的便携洗衣器
	
还有另外一种
便携洗衣机
	
都是针对小型衣物
提供的便捷清洗方式
懒人饮料帽
不光是刷牙
连喝水都想解放双手
于是懒人饮料帽出现了
在淘宝上基本是这样
	
至于专利
蜗牛纳没检索到
不知道发明这种帽子的人
是否申请了专利
就算现在想申请也晚了
因为只要掌握了制作方法
谁都能做的出来
懒人刷牙器
鉴于在最上面
蜗牛纳已经提到了
两种懒人刷牙工具
那么在这里
我们看看懒人挤牙膏
不知道你有没有用过
按压式挤牙膏器
	
不想手动挤压
也不想盯着牙膏挤出进程
就尝试使用
一种智能挤牙膏器
	
想不到有人还玩只能
这款挤牙膏器
不仅有无线通信模块
音乐播放模块、语音播放模块
还有完整的按键组
懒人免洗喷雾
觉得头发不干净
可是有懒得洗咋办
当然是用免洗喷雾呀
	
用于清洁的
头皮护理的
抗粗糙抗分叉的
去屑护发的等等
随便选
懒人面包机
能每天早上在家里
悠闲地喝牛奶吃面包
绝对是很多人的心愿
可就算买了面包也没时间热
那么这种面包机会让人很省心
自动分片的智能面包片烘烤机
不必盯着烘焙进度
只要有WIFI就可以
智能远程控制烘烤时间
	
如果懒得用手机
那么就直接用语音操控
带语音提醒的智能面包机
能能通过语音对面包机
进行指令的输入与输出
达到智能控制的目的
	
多好呀
以后只需要动动嘴
就能吃上热乎乎的面包了
估计爱吃面包的人
会非常喜欢这种发明
不过接下来要说的
是所有不爱做饭的人
最中意的发明
懒人炒菜机
现在我们的生活节奏
是越来越快了
疲惫的身体和精神
让大家不愿意辛苦下厨
因此炒菜机器人应运而生
只需启动炒菜机器人
即可坐等美味菜肴
比如一种炒菜机器人
	
想远程控制也可以考虑这种
移动端控制智能炒菜机的方法
	
但是炒菜机器人再好用
使用者也得要手动清洗
如果有残留物粘锅
那么就很难洗干净
作为懒人自然不想洗东西
所以有人为此发明了一种
炒菜机器人及其采用
超声波喷水全自动洗锅方法
	
有的还使用柜式
总之各种方便
蜗牛纳真想买个
懒人嗑瓜子神器
蜗牛纳是个超爱嗑瓜子的人
回了家就坐在电脑前
嗑一堆瓜子吃
只是嗑的瓜子一多
手和嘴就被弄脏了
而且有时候还会吃到
变了质的瓜子仁
想想也挺苦恼的
要不是写这篇文章
蜗牛纳还真不知道
淘宝上正卖着
家用微型瓜子脱壳机
	
他不仅能解决上述问题
而且还能让牙齿不好的人
轻松吃到瓜子仁
不过对于蜗牛纳来说
还是更享受嗑瓜子的过程
但最后总是一地瓜子皮
为此经常被家人批评
也许被这么说教的人太多了
于是有人发明出了
一种懒人果盘手机支架
	
太方便了有没有
瓜子壳有地方收
手机也有地方放
绝对是懒宅们的心头爱
蜗牛纳终于相信
懒绝对是人类
创造发明的第一生产力
君不见多少人类的进步
都是出自懒人们
想少做点事的良苦用心
因为懒得走路
才有了满街跑的汽车
因为懒得爬楼梯
才有一站就到的电梯
因为懒得写信
才有了远程聊天的电话
因为懒得去电视机换台
才有了随时按的无线遥控器
	
所以别再嘲笑懒癌患者
正因为他们“懒”
才有了这些伟大的发明
才有了更加方便的生活方式
如今“懒人经济”时代
已悄然来临
你学会“偷懒”了吗
——END——
	
编辑:蜗牛纳@北京纳杰专利申请代理机构
本文地址:http://www.bjnajie.com/a/zlsb/3809.html
相关阅读:







