最好的祈福,是用专利技术降低地震伤亡率!
发布时间:2018-12-20最近四川又地震了,是在宜宾市兴文县(北纬28.24度,东经104.95度)发生的5.7级地震,很多人和蜗牛纳一样都在关注着这件事,当然也很担心会出现余震再让当地居民们受到伤害。
有记者从四川省地震局了解到,自2017年9月30日青川发生5.4级地震以来,一直到今年10月31日前,四川没有发生过5级以上的地震。10月31日,西昌发生5.1级地震,是今年四川辖区内第一起5级以上的地震。而这次的地震,则是今年以来四川最大的地震。
据了解,兴文县"12.16"地震搜救排查工作已于12月17日下午19时基本结束。值得庆幸的是,四川兴文地震共造成38614人受灾,只有17人轻微受伤。
没有出现重大伤亡事故,相信过不了多久就能进行灾后重建工作,并确保灾后恢复重建有力有序有效推进。
说起地震,我们回想起唐山大地震、汶川地震、玉树地震、雅安地震、九寨沟地震。相信不论是亲身经历过大地震的受难者,还是身在远方心系灾区的旁观者,永远都不会忘记事发的这一天。
	
但不要管过去发生了什么,人始终不能活在这样的过去里。若我们不想在未来重蹈覆辙,就应该在现在汲取过去的教训,用学到的新知识和开发出的新发明为今后的发展做准备。而这,才是所有改变的根基。
那么如今究竟有哪些人为防地震而做出了新的改变呢?我们一起来看看吧。
如果发生了地震,学生们不能在第一时间逃离现场怎么办?
针对这一问题,惠州市第一中学初中部八年级(6)班学生汤宝杰发明了一种可防地震、可当书桌使用、可当床使用的防火防震多功能课桌。
因为现有的课桌和凳子底下的空间有限,不便于学生们避险。所以汤宝杰才开动了脑筋,发明了这种不仅能在紧急危险来临时供学生安全躲避,而且具有课桌、床、讲台、衣柜或储物柜等多种功能的课桌。
蜗牛纳检索到汤宝杰的这项发明已经获得了国家知识产权局颁发的实用新型专利证书,前不久他在第十届国际发明展览会上还因此荣获了大会金奖。(下图为汤宝杰的课桌专利)
	
如果很多学校都使用这种课桌,即便来了地震也能保障学生们的自身安全,只是要经常进行避灾演练活动。
说起来,汤宝杰不光发明了防火防震多功能课桌,还发明了防溺水安全保健多功能书包。
	
这个书包的背带内设有多个第一气囊,多个第一气囊之间形成透气孔,背带上可拆卸连接有矫正背心,设有用于防溺水的第二气囊则是在书包本体内。
假如地震来的时候,有学生在距离河面较近的地面上没站稳掉进去了(有些地方确实未设有安全栏杆),那么汤宝杰发明的这款书包就能起到争取救援时间的作用。
不过孩子们回到家,在写作业或睡觉的时候遇到了地震该如何自救呢?
确实,如果蜗牛纳睡得香,又刚好遇上了地震来袭的情况,可能会因为反应慢而错过逃生的希望。大人尚且会如此,更别提是小孩子了,他们比成年人还更快进入深度睡眠。
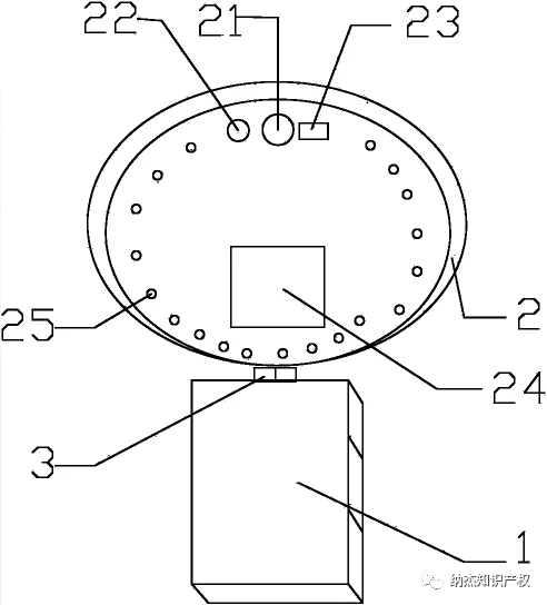
为了解决这个问题,在2010年有个石家庄退休老人王文锡发明了一张能抗8级地震的地震自动减灾救生床。
	
这个全新的设计被比喻为“捕蝇草”或“保险柜”。如图所示,当地面的感应器检测到大的震动时,同样会降下床垫,而侧边的盖子顺势合上,这个强度很高的金属箱子将保护主人直到地震消散。
也就是说当地震来临之际,床的安全模式会随之打开,床体自动下降,让睡觉的人快速醒过来,并且以最快的速度逃生。
如果来不及也没关系,在床的顶部有一层隔离能够抵挡来自因为地震所带来的屋顶陷落的问题。这样就能保证人如果因为无法逃离,也不会因为顶部,掉下砖块或者重物遭到伤害,同时为地震受困的群众请提供了一个可以小范围安全区域。
当然也不必担心吃喝问题,因为在床的底部还有一层可以拉动的暗格,在里面可以放各种食物、饮用水、防毒面具、药品和一些氧气罐等。在正常的情况下人在里面最少能生活半月,足以保证受困者有这个时间等待救援。
	
这个发明一出就得到了大家的一致好评,并且还获得了国家专利。但有不少网友询问了解决大小便的问题。
对此,王文锡老人表示他早就已经设置好了,在该防震床里面有很多准备好的袋子,可以轻松解决人们大小便的问题。
王文锡老人最初制作的防震床极为简陋,因此江苏有一家机械公司将这个床进行了升级改良,并开始对外销售。据悉目前的售价是18万元人民币。
如果“地震救助床”的价格能更亲民一些就好了,这样在地震高发区的居住的很多普通家庭可以靠这张床保命了。
说起来,蜗牛纳想建议打算将这张床推销到其他地震多发国家的公司:一定要做好相关的海外专利布局!
但是这种床的价格很低,也并非所有人都能使用。比如患有幽闭恐惧症,或者不喜欢长时间呆在同一个地方的人,均无法忍受这种救生床下的封闭环境。
可若是没有任何自救装置的话,万一在自己睡觉的时候发生地震,便无法及时撤离,并因此受伤或死亡。
不过现在也不用怕了,有人发明出了一种智能型地震救生床罩。该床罩包括了智能震动保护装置、浮动床、抗压床罩。
	
它是个可以在地震时,特别是在半夜能自动闭合抗压的床罩,不仅如此,还能够防止外界的撞击并承受较大的压力,其保护空间也较大。
顺利从家里跑出来,却担心导致自己会因楼梯不稳而发生坠落的事故?
别急,扬州大学建筑工程学院大学生有了这一项研究成果——抗震楼梯。
	
根据该专利描述:抗震楼梯是不与楼房墙面连接的悬挂式楼梯,在地震时最多会产生前后左右的晃动,而晃动又不至于让其“散架”;而在材料选择上,“抗震楼梯”采用了名为LVL的新型材料,该材料密度小能承受的力大,做成的楼梯自重小、连接强度高,这就减小了楼梯自身晃动时向下断裂、坠落的几率。
对于防地震专利,蜗牛纳还检索到了很多。比如“多功能防地震护人货架柜台”、“地震避难防盗门”、“自动扶梯或自动人行道上防地震保护装置”等,均是由某个民间发明家、某大学或某公司发明的。
	
这些专利产品在很少发生地震的地区里并不多见,虽然蜗牛纳不太清楚它们的保护程度有多给力,但是只要是能够救人性命的,就一定是会推广起来,让很多人能用上。
不过也别觉得只有民间高手才能有那么多防地震的点子,实际上国家有关部门和相关研究所也在努力中。
比如曾经的九寨沟地震,就在其预警中运用到了成都高新减灾研究所的专利技术。
该研究所是在国家和地方防震减灾相关部门的支持下,经过了九年时间才研发出了我国首个自主研制的地震预警系统,并对科研成果进行了知识产权保护:
	
有的人说论防地震,还是日本的最专业。蜗牛纳想说,咱们情况和日本的不太一样,因为在日本发生的地震大都是处于滨海环境下,而国内则是在西南山区内。不过这并不妨碍我们借鉴日方的专利技术,以此来形成的与日本有所不同的地震预警技术。
如今国内各地相关的科研院所,依旧在努力研发地震预警产品,并不断改进地震预警系统的可靠性和时效性。如此才可以在不能预报地震的情况下,以用自己的防震减灾技术保障人们的生命。
蜗牛纳希望未来能有更多防地震的预警产品和自救产品能够帮助到多震地区的居民们,达到家家户户能科学自救的目的,让遇难者名单上永远一片空白。
	
最好的祈福是利用专利技术降低伤亡率
——END——
	
编辑:蜗牛纳@北京纳杰专利申请代理机构
本文地址:http://www.bjnajie.com/a/zlsb/3844.html
相关阅读:







