抢不到故宫灯会票就看专利大PK:北元宵和南汤圆哪个更受欢迎?
发布时间:2019-02-19春节后开工的第二周,纳杰又迎来了中国传统节日——元宵节。不知不觉间,新年就要告一个段落了。
不过和往年的元宵节不一样,今年故宫将在这个节日里首次开放夜场,于2月19日、20日连续举办两晚的灯会。
	
虽然官方很早就发出了预告,但因为抢票当天有大量观众预约,导致该平台一度崩溃。
不晓得你抢到没有,反正蜗牛纳凌晨0点蹲守了也没能抢着。虽说在闲鱼上已经有人出价2000元、3000元的门票进行售卖,可蜗牛纳觉得还是不要通过这种渠道获得门票,以免上当受骗。
既然咱们没法进故宫逛逛这灯会,那么就说说元宵这个传统节日吧。蜗牛纳得先感叹下古人的大智慧:他们认为“元”指月亮正圆;“宵”指正月十五一年中第一个月圆之夜。古人言“宵”为夜晚,代表一元复始,大地回春的夜晚。
如同和除夕夜要吃饺子一样,在元宵节吃元宵/汤圆也是为了讨一个吉祥,毕竟元宵圆的嘛,就是大伙儿团圆的意思咯。
	
中国人在过每个传统节日的时候,都离不开“吃”的话题,而长期生活在南北方的网友也很喜欢为吃什么和怎么吃“吵”起来。比如端午节吃甜的还是咸的粽子、中秋节什么馅儿的月饼最好吃、腊八节喝的腊八粥应放什么料等等。那么在这个元宵节里,南北方网友们自然还要再为吃而“吵”闹起来。
估计今年的话题依旧是#元宵和汤圆的区别#或#元宵和汤圆哪个最好吃#。蜗牛纳先来简单说下这两者的区别在哪里吧,免得分不清。
北元宵
北方人都吃元宵,元宵是一种中国人依照习俗在农历正月十五元宵节和春节烹制食用的食品。于明永乐年间正式定名为元宵。
	
南汤圆
南方人吃的是汤圆,主要祈求全家团团圆圆。做汤圆所用的糯米性平、味甘、补虚调血、健脾开胃、益气止泻。
	
现在不论是元宵还是汤圆,不仅是在工艺、外观上,连馅料方面的花样也越来越多了,于是蜗牛纳很好奇它们的专利申请量分别有多少。那么我们就在专利界看这两者之间的大PK吧!
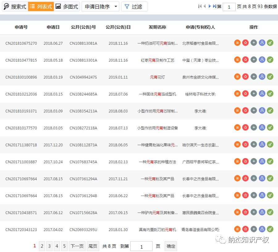
截至目前为止,蜗牛纳通过专利局检索到,共有93条和“元宵”有关的专利申请信息。
	
和“汤圆”有关的专利申请信息则有927条。
	
好吧,在专利界里似乎是汤圆比元宵更受欢迎呀,作为北方人有点不服气……
那么问题来了,南方的汤圆真的比北方的元宵还好吃吗?关于这个话题,蜗牛纳忙里偷闲看一个群里从早上争论到了下午也没有结论,最后他们聊着聊着又不知不觉把话题给扯远了,开始争论汤圆的什么馅最好吃。(以下对话征求了群友意见,不必打码)
	
群里就有个叫汤圆的姑娘,她表示自己什么馅都吃过也最有发言权。蜗牛纳一个没忍住蹦出来说话:
	
好的,为了能领到汤圆的大份额红包,蜗牛纳也是拼了!在网上找了好几个看上去很不“日常”的汤圆专利给她。
比如在各种意义上都很“酸”的汤圆(对就是你脑补的那种酸):
	
为身体健康着想的汤圆(但内个抗癌汤圆是怎么肥事):
	
看上去又怪又有点恶心的汤圆:
	
别的就算了,最后的“福寿螺卵汤圆”、“蜻蜓若虫和田螺汤圆”是什么鬼?(还好元宵没这么古古怪怪的味道)相信蜗牛纳,你去搜了图一定会回来留言吐槽的……
咳咳,总之这么一看,和汤圆有关的专利还挺多的呢。但若论吃哪家的汤圆最多,大概是三全的吧?
说起三全就不得不提起这位速冻汤圆之父——陈泽民。从原料配方到制作工艺程序,从单个粒重到包装排列,从包装材料到包装设计,从营养、卫生到生产、搬运等,陈泽民凭着这整体的设计,在1989年做出了中国第一颗速冻汤圆。
虽然当时的陈泽民只是小小个体户,但却已经有了极强的知识产权保护意识,不仅在第一时间注册了“凌”、“三全凌”和“三全”商标,还申请了速冻汤圆生产发明专利和外形包装专利。
	
没几年陈泽民的公司又申请了汤圆理料机的实用新型专利。
	
当然,陈泽民也不是一直都在领着团队搞发明,别忘了他也是个有理想有抱负的人。为了能顺利树立起自己的品牌,陈泽民在中央电视台上不断地打广告,也因此为今天三全的发展打下了很好的基础。
虽然现在三全水饺因为被抽检出非洲猪瘟而面临着各种压力,但你不能否认,它的创始人陈泽民仅用一颗小小的汤圆,就创建了一家百亿级的企业,据悉这一颗汤圆在一年里能卖出50亿。
这说明了什么?说明我们吃的都是价值上亿元(大误)的汤圆呀!
所以说千万别小看这小小发明,哪怕是个馅儿,或许都能够让你的企业在市场中立于不败之地!
	
悄咪咪告诉蜗牛纳
你爱吃什么馅儿
没准下一个元宵节
咱能一块儿吃呢
最后蜗牛纳在此愿你
烦恼抛到九“霄”云外
快乐幸福此“消”彼涨
生活状态“潇潇”洒洒
	坏习惯“消”失得无影无踪
	
——END——
	
编辑:蜗牛纳@北京纳杰专利申请代理机构
本文地址:http://www.bjnajie.com/a/zlsb/4166.html
相关阅读:







