公牛插座因专利侵权被索赔10亿,“斗牛士”曾登上人民日报!
发布时间:2019-03-22爱在网上聊天吗?喜欢打农药、吃鸡?或者喜欢网上买买买?反正现代人做什么事大概都离不开互联网了。
互联网离不开什么呢?当然是电!
	
但你可能不知道,在电力首次引入家庭作为照明用途的时候,是没有插头插座之类的产品。后来为了电气连接,很多人都会把电线绞拧在端子上。
但是,在越来越多的电器从发明到被批量生产,人们就发现绞拧电线已经成为一件麻烦又危险的事情,也因此导致触电事故频频发生。
直到1904年,有个叫哈维哈贝尔的人才发明出两芯插座并申请了专利。24年后拉布瑞菲利普发明了带地线的三芯插座,此后近百年的时间里人们一直使用着这种构造简单、隐患层出不穷的插座。
蜗牛纳采访了长辈,他们说70年代那会让,国内使用的都是这种结构简单的黑色胶木插座(见下图)。虽然很不安全,但好在老一辈的人有个习惯,比如一台电视机只用一个插座,好几年都不拔下来,并用柜子挡住,以防小孩误触。
	
可是时代会变的,每家每户用的电子产品肯定会越来越多,到时候这种不安全的插座就无法满足最基本的供电需求。
1995这年,能解决插座问题的公牛集团有限公司(下称公牛集团)成立了。当时那个年代生产的插座根本没有标准,往往质量很差,公牛开创性地在插座上增加了按钮开关。直到现在,国内市场90%的插座用的开关仍然是当时公牛最早设计的按钮结构。
	
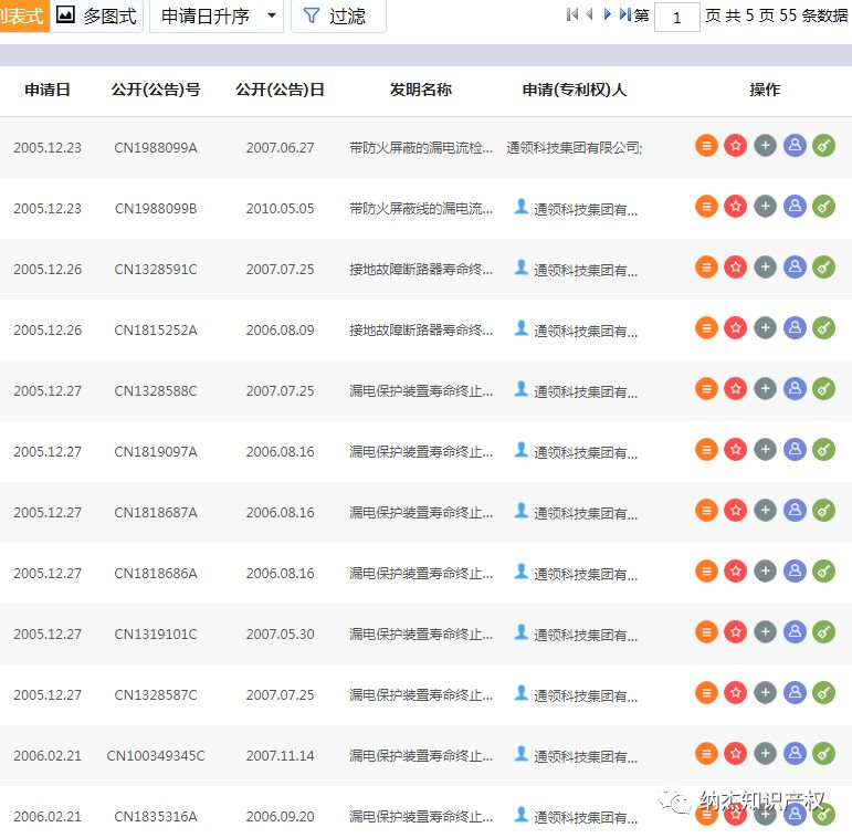
一晃眼二十多年过去,公牛集团插座的市场占有率已经是全球第一,说这家公司是行业中的巨头一点儿也不夸张。毕竟人家在这些年里发明的专利也不少。蜗牛纳通过专利局检索发现,到目前为止总共有464项专利申请信息。
	
难怪公牛集团只用这几十元的小生意便建立了一个估值上百亿元的电器大国。听说他们还要准备冲刺IPO呢。
但是最近,在公牛集团正快速壮大发展的节骨眼上,被其同行江苏通领科技有限公司(以下简称通领科技)给送上了江苏省南京市中级人民法院?!
据悉,通领科技之所以会起诉公牛集团,是因为他们的专利被侵犯了,并且还要求公牛集团赔偿共计9.99亿元。也因此,这场官司被称为国内诉讼标的最高的专利侵权案。
	
都快10亿了,蜗牛纳真好奇公牛集团侵犯了哪项专利,居然让通领科技索要这么多的赔偿费用。不过这笔钱对于平均每月赚钱过亿的公牛集团来说,刚好是它们一年的净利润。(这里小小感叹下公牛集团的富有)
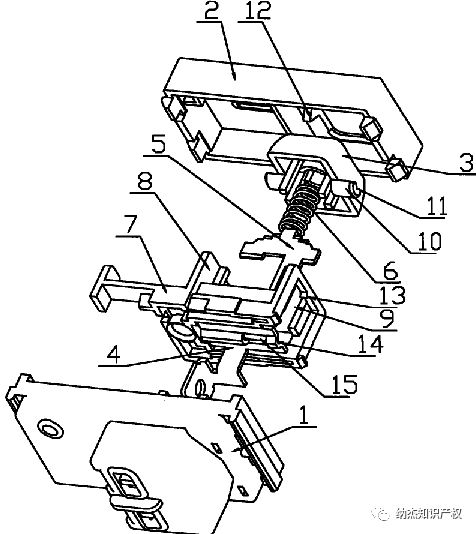
通领科技这边公布了公牛集团未经许可使用的两项专利,它们分别是发明专利支撑滑动式安全门(专利号为ZL201010297882.4)
	
和实用新型专利电源插座安全保护装置(专利号为ZL201020681902.3)。
	
两项涉案专利均与安全插座有关。
真是奇怪,国内领先的高档开关插座、转换器的专业供应商公牛集团,为何会侵犯了通领科技的专利呢?难道是“江郎”才尽了?
对此,公牛集团的工作人员对来电采访的记者确认了诉讼情况并给出了回应。该人员称早在2018年12月,公牛集团就接到了来自南京市中院的消息,提到诉讼涉及与插座保护门相关的专利侵权问题,目前律师已在积极处理。
由此可见,公牛集团已处于应诉的状态中,并且目前有部分案件开了庭。案件结果尚未公布,究竟公牛集团是否侵权,我们现在也无从得知,但相信法院方面会发布相关的公告。
	
其实这并非通领科技的第一场专利侵权官司了,虽然他们是一家专业研发、生产和销售商用、民用电气开关和安全插座的高新技术企业。但自成立以来,一直专注于北美市场,很多插座产品均向海外销售,客户包括世界500强企业施耐德、沃尔玛等。
从专利局上检索到的数据来看,通领科技目前只有55项专利申请信息,并没有公牛集团那么多。
	
可架不住该公司的产品畅销呀,并且起步较早,研发投入业内领先,甚至还拥有着“防水溅、防触电安全保护插座”等独家专利。
有那么好的战绩自然被海外同行当成了眼中刺。根据新闻报道,通领科技曾一己之力对抗多家公司的“围攻”。
2004年起以美国莱伏顿等为代表的多家竞争对手,为阻挠通领科技进入美国市场,先后发起了多场专利权诉讼。经过2年多的艰苦诉讼,通领科技花费1.6亿元最终打赢了所有官司。
2006年5月23日,美国法院下达了长达33页的“马克曼命令”,明确表明通领科技的产品没有侵犯莱伏顿公司的专利。(下图为人民日报的报道截图)
	
这是在当时的中美知识产权纠纷案中,首例中国企业获得美国法院的全胜的“马克曼命令”,同时也为中国企业实施自主知识产权保护,参与国际竞争,顽强抵制恶意诉讼树立了一个典范。
再看看公牛集团这次被通领科技抓住的“牛辫子”,也难怪原告一方会那么底气十足呢。
就比如安全门专利吧,要知道2017年4月,中国国家认证认可监督管理委员会要求插线板和转换器插孔必须设置的安全门,通领科技早在2010年就已经申请了相关专利。但从申请时间上来看,确实比公牛集团要早得多。
因此通领科技才会认为在市面上带安全门的公牛插座,均涉嫌侵犯专利。
不过也有很多人猜测,通领科技是故意在公牛集团冲刺IPO的关键时刻跳出来,就为了让国内消费者知道:做插座的不是只有公牛集团一家,他们通领科技也是这个行业中的翘楚。
蜗牛纳觉得,不管最后官司是否能打赢,通领科技都可以通过此事达到宣传自己的目的。
	
默默按捺住自己蠢蠢欲动的爪子,咱们还是把关注点放在这个专利侵权案上来吧。
作为企业家,以及经常从事专利代理工作的人员,都可以从通领科技对专利保护的行为上学到许多东西:例如他们很擅长加强整体设计,并进一步制定和实施专利保护的方案。
通常来说国内外的专利申请、审查等流程是不一样的,甚至连审查周期也有所不同,但为什么通领科技在国外同行的“攻击”之下能够反击和自保呢?
这肯定是因为他们在进行专利布局之前,深入了解了相关的法律法规,包括当地的侵权惩罚性赔偿制度。毕竟知彼知己百战不殆,只有了解透了敌我双方的情况,打起仗来才可以立于不败之地。
说起来,今年参与两会的国家知识产权局局长申长雨也提起这个问题,他认为很有必要继续加强对专利的保护:在最新的专利法修正案草案中,规定了对故意侵权行为可处以最高5倍的惩罚性赔偿,这在国际上也是比较高的。
同时,申长雨还提及了探索建立海外知识产权维权援助中心的事情:加大海外维权力度,让中国的知识产权在国外也就能够得到更为有效的保护。
是不是突然觉得今年有奔头了?知识产权局都发了话,全国各地的企业都会跟着加强知识产权保护意识。特别是专利方面,在面临最高5倍的惩罚赔偿,相信专利侵权行为一定能少很多。
如果公牛集团最后被查出侵犯通领科技的专利的事实,或许会成为第一家被处以最高5倍的惩罚性赔偿的公司。毕竟打官司是一件相当费时的事情,很可能在最新的专利法落实到位后还没打完。
看到这里也许你会说,这种新的惩罚制度可能只适用于公牛集团、通领科技这样的大公司。
可蜗牛纳要告诉你个好消息:知识产权局将会进一步创新工作机制和模式,包括实施“互联网+”知识产权保护,通过源头追溯、在线识别、实时监测,提高保护的效果。也将会再建设一批知识产权保护中心,形成集快速授权、快速确权、快速维权为一体的协调联动机制。为社会公众提供更加便捷、更为高效、成本更低的维权渠道。
也就是说,即便你是社会公众中的个体,只要你的商标、专利或版权等被侵权了,都可以通过这种更加便捷、更为高效、成本更低的渠道进行维权!
——END——
	
编辑:蜗牛纳@北京纳杰专利申请代理机构
本文地址:http://www.bjnajie.com/a/zlsb/4402.html
相关阅读:







