东京“樱花金”火炬爆红网络,其中专利是功臣!
发布时间:2019-03-27最近,2020年东京奥运会和残奥会组委会20日公布了在奥运圣火传递中使用的火炬。
	
于是这几天,蜗牛纳有几个设计朋友一直在朋友圈里刷屏,感叹东京奥运会火炬的美丽。还有一位朋友表示她很服日本的设计感,如果有机会一定要去日本的设计公司亲身感受下。
	
从这几个朋友的口气来看,似乎半个设计圈都在讨论日本的“樱花”火炬。当然,网上的吃瓜群众们也各自发表了自己的想法。
	
虽然有些网友觉得日本的这个火炬设计不太好,元素也用得快烂大街了,但对大多数网友而言,它是值得被期待的一件设计作品。
到底是怎样的一件作品,引起那么多人的称赞?蜗牛纳从网上找了个视频,你也来观赏一下吧。
https://v.qq.com/x/page/r0852cmswzx.html
从火炬的整体设计上来看,就知道是以日本人最爱的樱花为灵感,其设计师吉冈德仁(52岁)还将樱花色和金色相结合的颜色命名为“樱花金”。
	
有点心动。。。突然想要“樱花”火炬的周边了!
不过虽说是“樱花金”,但蜗牛纳总觉得是“香槟金”,可能日方的意思是带樱花粉的金色吧,就好比“玫瑰金”一样。
除了采用樱花形设计以体现日本特色之外,他们还使用了东日本大地震灾区临时住宅的铝制窗框废料。
你没看错,日本火炬材料取自回收物品。
据报道,“樱花”火炬使用了与日本著名的子弹头列车制造相同的铝,而该铝中约有3成来自岩手、宫城、福岛3个受灾县总计824户临时住宅使用的铝,这从侧面上表达了对受灾区重建的期待以及对和平的愿望。
	
值得注意的是,“樱花”火炬采用的无缝制造法被称为“铝挤压成形”,这不仅凸显高超技术能力,还象征着东京2020奥运会融合了日本传统和现代技术的火炬接力意义。
据悉,设计师吉冈德仁(52岁)设计的火炬长71厘米,重1.2公斤(相当于大可乐的重量)。从上往下看呈樱花的形状可以喷出25~30厘米高的火焰。为使火焰在强风和大雨中也不会熄灭,采用了独特的燃烧方式。
是不是觉得很厉害的样子,也没想到人家连燃烧方式都单独设计了一种是吧?不过比起感叹“樱花”火炬的外观设计,蜗牛纳更关心他们有没有为自己火炬的设计和制造技术申请专利。
毕竟东京“樱花金”火炬是否能够在明年传递圣火的时候继续爆红网络,还得靠最大的功臣——专利!
这并不奇怪,实际上每届奥运会的火炬都有它独特的燃烧方式,也都为其申请了专利。
我们都知道,奥运火炬是每届奥运会的重要象征,燃烧的奥运圣火象征着光明、团结、友谊的体育精神。通常来说,圣火熄灭的时候,奥运会即告正式结束,所以举办奥运会的城市都会想方设法让圣火在遇到任何情况都能一直燃烧着。
就拿2008年北京奥运会“祥云”火炬来说吧,在它被研制成功后,中国航天科工集团(下称中国航天科工)便第一时间为火炬技术申请了10余项专利!
也幸好他们申请得早,否则跟那群眼红“祥云”火炬的公司“打”起来可没不会如此轻松。
这不,2010年在山东召开第11届全运会的“如意”火炬就被中国航天科工三十一所的科研人员发现,该火炬与北京奥运会的“祥云”火炬所使用的内部燃烧系统非常相似,也因此怀疑“如意”火炬涉嫌侵犯了他们的两件实用新型专利权。
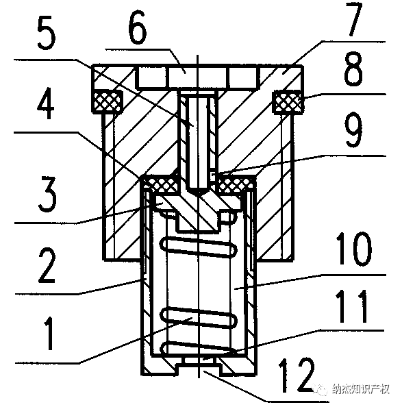
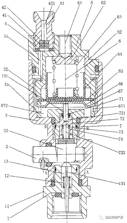
在经过中国航天科工的深入研究后,确定其中“可拆卸常闭阀门”
	
和“气相稳压装置”
	
这两项实用新型专利技术被设计/制造厂家中山华帝运用在了“如意”火炬中。
千万别小看这两项技术,它们均是火炬燃烧系统中的关键技术。
“气相稳压装置”可使火炬点火可靠、燃烧稳定,从而使火炬的火焰在复杂多变的外界环境中保持相对恒定的高度和飘逸的姿态;“可拆卸常闭阀门”则主要用于保证燃料供应安全可靠。
如果没有这两项技术,那么也不会就此创下历届奥运会中“最低熄火率”的纪录了。
而“如意”火炬之所以能像“祥云”火炬一样具有高可靠性、强稳定性和低熄火率,靠的便是这两件专利技术。
	
既然确定了中山华帝的侵权事实,中国航天科工三十一所便向北京市第二中级人民法院递交诉状,将中山华帝告上法庭。
中山华帝倒没有否认“如意”火炬采用的专利是中国航天科工的,但他们却叫冤,称提供的火炬传递燃气用品是捐赠给第11届全运会,没有经营目的。
此时蜗牛纳想到,假如日本东京奥运会的“樱花”火炬也被侵权,而且侵权方用同样听起来很大无私的理由来逃避责任,他们会怎么做。
答案很简单,不管是哪届奥运会的火炬,只要被发现侵权了,都会根据当地法规条例来处理!
正如北京市第二中院的做法一样,他们在审查后认为,中山华帝将2200把“如意”火炬捐赠给第11届全运会的行为虽属于无偿赠与,并无经营目的,但从原告方提供的互联网相关报道及宣传资料可看出,其捐赠行为“明显具有广告宣传的效果和影响,具有商业性”。同时,被控侵权产品燃烧系统虽进行了细微改动,但仍落入了涉案专利权的保护范围。
于是这场“祥云”与“如意”打了历时两年的专利侵权官司终于有了一个极好的急过:判定中山华帝的“如意”火炬败诉,并赔偿中国航天科工三院三十一所的“祥云”火炬内部燃烧系统66万元。
顺便说下,即便是中国某商家侵犯了日本“樱花”火炬的专利,或是“复制”了外观、和商标,相信日方必定会坚决维权到底。
要知道,日本是个非常有知识产权保护意识的国家,不论是商标还是专利,其海外布局都做得非常好。
	
最后蜗牛纳提醒国内所有企业:在保护好自己的知识产权的同时不要去侵害别人的知识产权,因为这是最基本的职业规范与道德!
如果都能够稍微遵守下这行的“游戏”规则,也就不会是外国人口中的“抄袭/山寨之国”了。你说对吗?
——END——
本文地址:http://www.bjnajie.com/a/zlsb/4433.html
	
相关阅读







