北京一家4口,35项专利!
发布时间:2019-05-30现在都9102年了,搞发明、申请专利什么的不再是成年人做的事情,如今别说大学生,就是才几年级的小学生也都有了自己的国家专利证书。这样的情况都很常见了对吧?
但你见过全家搞发明并申请专利的阵容吗?反正蜗牛纳是没见过的,毕竟家里能有一个人擅长发明些东西就已经很难得了,若说一家子都很擅长,总觉得有些天方夜谭。
然而在最近,新华网报道了北京的“发明之家”,这一家4口人居然已经拥有了35项国家专利!
从“炖肉神器”到吸烟过滤器,再到红外线测高自动显示限高仪等发明,这么多年来,家在北京市海淀区的侯宁一家将生活中遇到的各种小烦恼、观察到的新需求都“变”成了发明,在改善生活、影响社会的同时,一家人体验着发明创造的乐趣。
侯宁的父亲侯占山退休前是在博物馆工作,平时业余时间里酷爱发明。可能是受到了父亲的影响,因此侯宁本人除了在国家图书馆国图艺术中心做好副主任的工作之外,还喜欢和父亲一起带动其他家人投入发明中。侯占山认为发明可以促进个人学习,培养爱生活、爱社会的习惯,还可以增进家庭和谐。而侯宁则是觉得发明创造太有意思了。
侯宁表示,他们全家在生活中若是遇到了什么问题,就会给记录下来,这样方便家人寻找更好的解决办法。侯宁还给前来采访的新华网记者展示了他们家牛皮颜色、旧得有些毛边的本子,在上面记满了各种创意与发明的雏形,甚至还分了儿童类、生活类、汽车类、图书馆类等等,图文并茂。其中有60多项已经有了解决方案。
随后在生活中,他们开始用一个个发明为社会带去惊喜。
	
上图从左至右为:父亲侯占山、抱着女儿的丈夫沙太宝、侯宁、母亲李秀风。
蜗牛纳在专利局上确实也检索到了不少这四位的发明专利,其中拥有专利最多的人是侯宁。不过按照辈分,咱们先从侯占山申请的专利开始查起,看看这位对侯宁影响最大的父亲发明过什么东西。(以下任选侯家四人的部分专利)
也许是因为年纪大了很注重养生,因此侯占山发明了足底保健喷头:
	
该专利是在外框内设置混水腔,连接水管穿过外框深入混水腔,混水腔顶安装水压喷头和压控开关,压控开上端放置触控踏板,触控踏板上设有出水口。在淋浴的时候,通过连接水管为喷头供水,如需进行足底保健,可踏上触控踏板,压控开关启动,水压喷头向足底喷水,为足底按摩保健,如不需足底按摩,将喷头移开即可,方便实用。
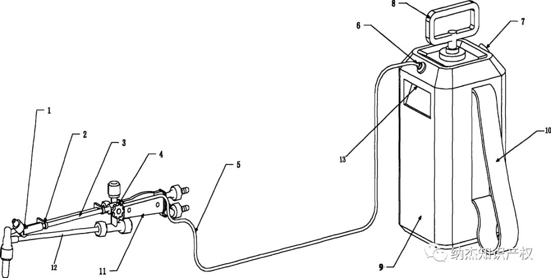
不过老爷子也没有光在养生上下功夫,从他还发明了焊机自喷灭火器来看,可想而知平时也有在关注救火新闻。
	
该专利是在加压水箱上方安装打压手柄,加压水箱的两端分别设有出水口和入水口,加压水箱的一个侧立面装有背带,另一个侧立面设有把手,出水口通过塑胶软管连接可伸缩金属管的一端,在塑胶软管与可伸缩金属管连接处安装转动式开关,可伸缩金属管的另一端连接可转动喷头,可伸缩金属管两端端口处安装割炬专用卡件。使用焊机时,可将该装置通过割炬专用卡件卡在焊机上,一旦发生火情,通过加压手柄对加压水箱打压后旋转转动式开关,将喷头对准起火点,又压的水柱可以进行及时有效的灭火。
身为侯占山之妻、侯宁之母的李秀风又发明了什么呢?和注重养生、安全问题的丈夫来,李秀风喜欢在辅助工具上动脑筋。
侯宁一家曾在电视里看到一则幼儿术后难以进食的新闻,于是李秀风与侯宁一起设计了流食辅助器并寄给对方,后来还收到了人家发来的感谢信。
	
该专利是在流食容器上顶端加盖容器封盖,入口导管穿过容器封盖插入流食容器内底端,加压导管一端与带调压阀的加压皮球连接,另一端穿过容器封盖插入流食容器。使用时,将流食容器中装入流食,盖上容器封盖,通过带调压阀的加压皮球为容器加压,并通过调压阀调节适当的压力,流食通过入口导管送入病患口中,帮助进食,方便实用。
同样是为了病患考虑,李秀风发明了个新的敷药袋,因为她发现传统型的用起来还是有些不便之处。
	
该专利是纱布袋,塑胶体防渗环,胶布采用分体结构,塑胶体防渗环内侧从边缘向内排布挤压凹环。使用时,将药物放置在纱布袋中,将装有药物的纱布袋放置在塑胶体防渗环内,用胶布将塑胶体防渗环粘贴至患病处,防渗环内部的挤压凹环将防止药汁的渗漏,便捷卫生。
不过她还观察过其他东西的使用是否便利,因此才有了电动双轮手推车的发明。
	
该专利由普通双轮手推车、可拆卸充电电池盒、电机、启动开关、制动开关、传动皮带和传动轮组成。传动轮安装在推车车轴上,传动轮通过传动皮带与电机上的传动轮相连,电机与可拆卸充电电池联通,可拆卸充电电池盒安装在推车后部,分别在左右推把上安装启动开关和制动开关。使用时按下启动开关,电机工作,推车即可前进,到达地点后,按制动开关即停止,长期不使用,将电池拆下充电,方便快捷,节省人力。
侯宁的爱人沙太宝和自己的岳父母一样,搞发明都是根据周边环境来进行思考,他曾经目睹车辆在经过路口的限高杆时,因超高引发交通事故。于是回去与家人一起讨论如何改进限高装置。经过了多次改进,终于发明出红外线测高自动显示限高器。
	
该专利是在道路限高设施的上方安装led显示屏,在离限高设施适当距离处设红外线自动测高器,太阳能电池组通过连接线与红外线自动测高器连接,红外线自动测高器通过连接线与led显示屏连接。当有车辆通过红外线自动测高器时,红外线自动测高器自动对通行车辆进行测高,如超过限高,显示屏将显示“**车辆超高,请绕行”。
以沙太宝为申请人的专利虽然也不多,但都很实用。比如自动盖调料瓶:
	
该专利是在瓶塞上有出液口和进气孔,瓶塞下半部与调料瓶联通的部位呈漏斗型空间,玻璃球放置在漏斗内,瓶塞盖住调料瓶瓶口。使用时,将液体调料放在调料瓶内,盖上瓶塞,倒调料时,漏斗型出液口向下倾斜,玻璃球滑向瓶口,液体从空隙中流出,使用后,调料瓶直立放置,玻璃球自动滑向漏斗底部,盖住出液口,防止液体挥发和散味。
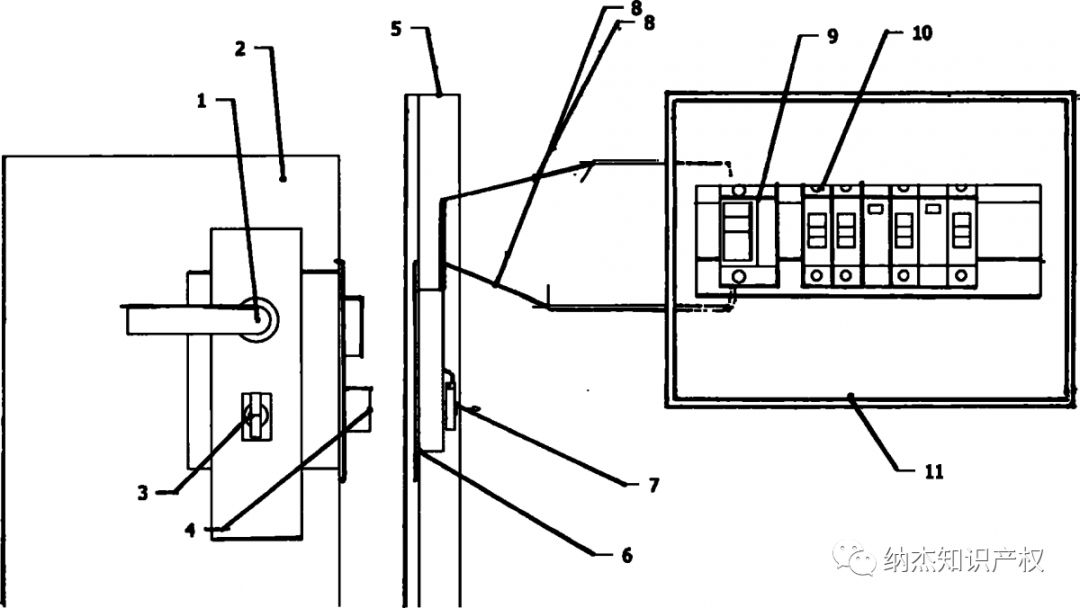
还有防盗门自动节电开关:
	
该专利是在防盗门锁孔内安装接触开关,接触开关通过信号线与自动断电器连接,自动断电器通过电线与墙内的空气开关联通。人离开家时,反锁门,当反锁舌头触到接触开关,开关即通过信号线启动自动断电器,即对家电全面断电,回家时,开门,反锁舌头离开接触开关,则自动给电,方便节能。
甚至连直升机救援吊舱都考虑到了:
	
该专利是在直升机舱底上部通过系统吊臂直升机舱固定点固定承重横梁,承重横梁连接直升机舱外锁止爪,直升机舱外锁止爪下端连接直升机索降缆绳,直升机索降缆绳通过锁扣与上部箱壳体连接,上部箱壳体通过上下箱壳体锁止带扣与下部箱壳体结合成一体,上部箱壳体顶部两端设有观察窗,上部箱壳体内嵌生命维持系统接入箱,上部箱壳体中央与直升机舱外锁止爪对应位置设有舱外锁止爪箱壳体抓点,下部箱壳体和上部箱壳体下边缘两端设有箱体把手,下部箱壳体内部配备救援担架。当需要救援的时候,可将吊舱下放指定位置对人员进行施救,同时,启动生命维持系统对维护伤员生命体征,争取救援时间。
接下来是申请专利最多的侯宁了,如下图所示,这只是她申请的部分专利。
	
是不是觉得这位女士很厉害?真不愧是国家图书馆国图艺术中心副主任,为自己单位提高了工作效率,如果这些发明专利能通过科技成果转化为现实生产力,就可以给人类和社会带来福祉。
据悉,侯宁一家不仅多次在北京发明创新大赛中获奖,还在海淀区举办的首届科技公民创新创意大赛中获得“发明创新家庭”称号,并且这一家子还成为了中国发明协会的会员。
	
现在,无论侯宁的工作多忙,她也会坚持每天至少1小时陪孩子学习、聊天、做游戏,让孩子们在关爱中成长,在游戏中学习知识、感受文化,保持求知精神。
蜗牛纳总觉得侯宁这是要向其父侯占山当年所做的一样,为社会再培养出“小发明家”,没准这个“发明之家”会再新增人口了。
侯宁说:“只要热爱生活,拥有思考的习惯,人人可以享受发明的乐趣。”
不错,只要发明有道,人人都可以做发明家,蜗牛纳相信未来全新的世界,将由更多的“发明之家”起源!
——END——
	
编辑:蜗牛纳@北京纳杰专利申请代理机构
本文地址:http://www.bjnajie.com/a/zlsb/4806.html
相关阅读:







