国际禁毒日,专利让毒品无处可藏!
发布时间:2019-06-266月26日是国际禁毒日即国际反毒品日,是联合国在维也纳召开由138个国家的3000多名代表参加的麻醉品滥用和非法贩运问题部长级会议时,定下来的一个很有意义的纪念日。
每年的这一天,各级政府都会通过报刊、广播、电视等新闻媒介及其他多种形式集中开展禁毒宣传活动,以引起世界各国对毒品问题的重视,同时号召全球人民共同来解决毒品问题。
	
巧合的是,国际禁毒日前一天6月25日,正好是中国林则徐虎门销烟结束的日子。
虽说禁毒日和虎门销烟没什么特别关系,而且这个禁毒日还是联合国定的,但若要问全世界里有漫长禁毒历史的国家,还得是咱中国。
从中国古代的第一种“毒品”——五石散,到后来传入中国的罂粟、鸦片,以及现在的海洛因、冰毒等,为彻底消除这些毒品的祸害,从古至今,中国人民都与之进行了不屈不挠的斗争。
本来禁毒和戒毒都是很难做到的事情,因为销售毒品的大都是有组织有纪律的团队,滑不溜手难以一网打尽;而吸毒者自身的意志力又不强,要想完全戒毒非常困难。
但即使这样,在禁毒部门和戒毒所工作的人们,都很努力地从源头上减少新吸毒人员的滋生。如果放任不管的话,贩毒团队和吸毒者将对整个社会造成很大的破坏力。
别看经常吸毒的瘾君子瘦得快跟纸片人一样,仿佛轻飘飘的一推就倒。可实际上吸毒者大都厉害着呢,即使让他们同最强壮的人比破坏力,胜出的也绝对是瘾君子们。(俗话说光脚不怕穿鞋的)
前者是直接破坏,很容易引起别人的警惕,而后者则是用润物细无声的方式去破坏一个又一个的家庭,进而拉低一个社会的生产力。当然,他们在此之前会先把自己的家庭破坏得乱七八糟。
可是,这竟然还算是情节比较轻的结果。因为吸毒者们能干的事情还有不少呢,绝非只是破坏别人家庭,再顺便造成某个地区的经济状况衰退。
	
你不知道他们这个群体到底有多可怕,虽说可以送去戒毒中心,可出来没多久就忍不住复吸,而且在吸过毒后产生的幻觉促使他们精力集中地做一件事,这可以说是一种偏执。
初期或许只会一直不眠不休地打游戏、做其他某件不干扰别人的事情,但往后就会越来越情绪化起来,开始找茬吵架、引发体内潜在的暴力因子,然后不受控制地去破坏周围的环境,包括家庭暴力与杀人。
蜗牛纳看过一个视频,里面说的就是吸毒者疯狂的行为。他们吸嗨了的时候会:点燃易引起爆炸的炸药、汽油等危险物品,破坏周边环境;拿棍棒上街疯狂无差别地打人;把自己当工具像美国片里的丧尸一样去撞击汽车、公交的车窗、门。
总之什么刺激就破坏什么,所有东西都可以当做吸毒者的“武器”,包括自己的身体。(本来下面想放张图,但觉得太可怕又太恶心了,所以……请各位看官自行想象)
把别人的家烧了、砸了,或是打伤路人还不算什么,好歹家是可以再重建起来的,而人只要伤得不重也能好好活着。可生态环境被毁了就真的很难恢复如初。
而制造这种混乱的吸毒者在忙什么呢?他们忙着用特殊方式混过安检这关,以便携带毒品混入人群客流中。
当然,咱们安检人员什么装备都有,连缉毒犬都跟着上阵,对于携带毒品的嫌疑犯是一抓一个准儿。
例如缉毒现场箱,它能够在现场快速地检验嫌疑物品是否是毒品,从而在第一个时间控制嫌疑人,为缉毒工作提供便利。
	
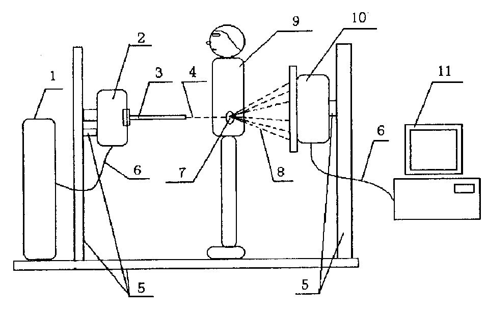
一种探测人体内隐藏毒品的装置和方法。该专利X光机电源发出的光通过X光管、准直器、支架和移动控制附件对人体胃部产生衍射,经过光电控制送到计算机上分析判断、绘出谱线、从而可以象识别指纹一样直接确定人体内毒品的种类。
	
一种缉毒车。该缉毒车的控制台可分别与工作站显示器、球管、增强器以及监视器进行连接,能实现移动环境下对人体随时随地的毒品检查。
	
便携式毒品探测器。通过在摆头上安装红外线感应探头和激光瞄准器,可以有效的提高毒品探测质量,同时在探测器天线上设置摄像头,方便禁毒人员办案,而且在该探测器主机上设置有卡扣,方便随身携带,且该仪器操作简单,比以往的x射线检测装置在确定目标方面准确性高。
	
可缉毒工具再厉害,万一查出来身上携带着毒品的人是亡命之徒呢,似乎也拿他们没办法。
要知道这样不畏生死的家伙要是被逼急了,肯定会死也要拉几个人质给自己垫背。假如人质运气还不错,让携带毒品的人成功逃脱了,那么着急上火的就该是警方了,因为他们知道狡猾的携毒者一旦跑了,就犹如鱼儿进入大海一般很难被抓到。
最要命的是,吸毒者不仅自己制造毒品,还会带着“兄弟姐妹”们去贩毒,逐步地扩大队伍,在多个城市建立“基地”,专门祸害有点钱的人家,然后一起享受破坏社会秩序和生态环境的过程。
并且当一个人经常做吸毒、制毒、贩毒和“传染同类”的事情,而且还特别专注、投入,那么这种事情将会成为他的一个生活习惯,一种行为方式,也就是不用经过思考,就能够下意识对这种事情产生本能反应。于是被习惯困住,在习惯中反复折磨自己和别人,直到开始明目张胆地破坏社会秩序,被人逮住按律判刑了为止。
	
毒品可真是个坏东西,影响个人就算了,还要带别人掉坑。要是遇上喜欢搞研发的,没准还能给专门研究毒品的部门增加难度。
蜗牛纳突然想到2017年有个小伙自制冰毒还想申请国家专利,最后却被抓捕的新闻,当被问及制毒的原因,这个小伙子说他觉得这是一个利润很高的行业,在将来肯定能赚钱。
不错,毒品的高额利润,驱使着吸毒者和贩毒者不断研发新型毒品,如裸盖菇素、摇头丸、新精神活性物质等。这些都是高额利润驱动新型毒品的研发。
也难怪缉毒队那么“疯狂”地想把这个群体全给抓了,真是怕市面上出现从未见过的毒品,也怕这种新毒品比冰毒还难戒掉。
不管是什么品种的毒品,都是残害人类的祸种,它不仅会给我们带来深重的灾难,还会危及到整个国家的存亡。
禁毒一事真的与我们息息相关,休戚与共。
那么为了坚决抵制毒品的浸袭,社会公众应该配合有关部门加大打击制毒、贩毒力度,并支持在广大普通群众以及青少年中采取禁毒宣传教育的有效措施。
这时候,毒品教育基地在这艰苦卓绝的禁毒斗争中,便起着其举足轻重的作用。就蜗牛纳了解,目前他们都会使用一种用于禁毒教育的毒品仿真样品模型。
	
可以运用高仿真技术仿真制作各不同种类毒品和制吸毒工具,直接展示给接受此类科普的人们,并配合毒品知识说明及危害说明,达到极好的直观的宣传教育效果。
不过咱们也不能等着毒品教育基地派人过来给科普毒品的危害,私下里也要上网看看相关纪录片,深入了解这方面的信息。平时遇到陌生人提供的饮品、零食,一定要仔细查看,或是干脆不吃不喝,加强防范到底,更不要为陌生人携带、传递可疑物品。
习近平主席说:禁毒工作事关国家安危、民族兴衰、人民福祉。毒品一日不除,禁毒斗争就一日不能松懈。
最后,让我们向所有为禁毒事业付出了巨大代价的英雄们致敬!感谢他们负重前行,只为天下无毒!
——END——
	
编辑:蜗牛纳@北京纳杰专利申请代理机构
本文地址:http://www.bjnajie.com/a/zlsb/4951.html
相关阅读:







