外媒指责小米CC Mimoji抄袭苹果,官方还未表态就被LBT起诉侵犯5项专利!
发布时间:2019-07-04前天,蜗牛纳发过一篇关于某博主质疑小米CC9 Mimoji 表情功能与苹果iOS Memoji 高度相似的文章么。虽然小米发声明称他们确定没有抄袭苹果,但昨天蜗牛纳上网浏览的时候却发现这事儿闹到国外去了,外国人可不认为小米没抄苹果的形象功能。
国外知名科技媒体The Verge的编辑发文表示小米的Mimoji涉嫌“抄袭”苹果。甚至说小米是个“毫无歉意的苹果模仿者”。
	
还有外媒9to5mac于近日也撰写了一篇文章《We can‘t quite put our finger on where Xiaomi got the idea for‘Mimoji’》(我们不能完全确定小米从哪获得Mimoji的灵感),并且对小米的产品设计理念提出了质疑。
9to5mac表示,Memoji诞生于2017年9月,最初仅支持iPhone X,为12个固定的动画图像,需要借助其3D结构光组件才能实现。2018年6月WWDC大会上,苹果宣布在iOS 12上为iPhone X以及未来即将发布的新机(iPhone XS系列及XR)提供升级的“Animoji”表情功能,允许用户自创与自己长相相近的表情。
	
	
可是和苹果3D面部表情相似的又不止小米一家吧?三星S9也推出过类似功能(AR Emoji),虽然它并未使用3D结构光面部扫描功能。
当然,三星曾宣称他们的这个功能没有受到苹果启发。
说起来,小米和苹果在各方面上也挺相似的,包括刘海尺寸、宣传海报设计等,曾数次引起众多外媒广泛讨论,而苹果公司也总指出小米和其他中国手机企业侵犯自己专利技术。
好吧,苹果拥有的专利太多了,可能他们的形象功能Memoji 也申请了专利。看来在今年下半年里,小米公司还得再继续公关洗清自己的嫌疑。
但如果外媒总抓着小米Mimoji抄袭的话题谈,希望借此“怂恿”苹果公司起诉小米的话,蜗牛纳认为他们怕是要是忘了。
因为,现在苹果公司压力有点大,应该是挤不出来这个时间确定自家Memoji 是否被侵权的事情。
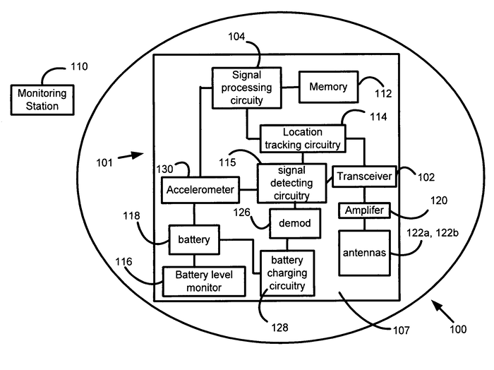
北京时间7月2日讯,有不少媒体曝出苹果公司再次因为iPhone集成技术,面临低功耗GPS专业公司Location Based Technologies(LBT)的专利诉讼。其原因是苹果公司侵犯了LBT旗下PocketFinder系列热门产品的一系列发明专利。(下图为LBT被侵权的PocketFinder产品)
	
该产品为长期个人和车辆追踪设计,利用了GPS接收器、WiFi模组、蜂窝发射器和其他技术来向用户提供位置监控和地理防护服务。
而苹果公司便是侵犯了他们产品中含有的5项专利,并且每项专利都与便携设备的相关省电功能有关。
据悉,这项诉讼针对的是iPhone、iPad以及它们在特定定义情况下关闭后台任务的能力。
根据PocketFinder网站上的解释,一款设备通过接收GPS或WiFi信号来对其位置进行三角测量,然而连接到蜂窝网络每隔一定时间将数据上传到远程服务器上。用户可以通过网站界面或者PocketFinder移动应用检索位置信息,查看家庭成员或汽车的踪迹。用户还可以在伴侣应用中配置的地理防护参数启动警告提醒。
起诉书
	
LBT的起诉书中还明确指出了苹果公司产品所使用的具体5项专利为美国专利号Nos. 8,497,774、
	
8,542,113、
	
8,102,256、
	
8,421,618以及8,421,619专利涵盖的技术。
	
上述专利全都包含题为“测定一款受追踪设备的位置、追踪坐标的装置和方法”的技术。
从专利信息上来看,774号和113号专利分别涵盖了“低功耗模式”和“核心位置”技术,旨在减少或暂停GPS功能等后台程序从而节省电量。
其中苹果移动设备的“面朝下检测模式”侵犯了256号、618号以及619号专利。
根据苹果公司一方曾宣传过的信息来看,他们的“面朝下检测模式”是苹果在iOS9中推出的一项新功能,可以利用近距离传感器和加速计数据来确定一款兼容iPhone的屏幕正面是否朝下。
如果iPhone的正面被确定朝下时,其显示屏将会关闭,而新通知也会随之被静音。
	
LBT称,苹果的iPhone和iPad都具备在特定定义情况下关闭后台任务的能力,而LBT起诉的正是这一部分的功能。LBT还表示,他们已经在6月份的时候向苹果发出了通知,并告知了苹果的潜在侵权行为。
值得一提的是,这5项专利都涉及到了苹果产品的续航性能。如果最后确认苹果侵权,而苹果方面又拒绝LBT在本案中要求苹果支付未指明金额的赔偿金和诉讼费,那么LBT很有可能申请苹果禁用这五项专利。
到那个时候,本来在续航方面表现得不太好的iPhone和iPad,可能会因此让自己的处境变得更为糟糕起来,甚至也会失去一大批果粉。
然而现在的苹果公司还有其他侵权官司缠身,在今年1月份的时候,RembrandtWirelessTechnologies公司(Rembrandt)便将苹果告上了法庭,因为他们发现苹果侵犯了自家公司的两项蓝牙技术相关专利。
	
据外媒报道,Rembrandt声称苹果生产的所有支持蓝牙2.0或更高版本以及EDR技术的设备都侵犯了他们手中的两项版权,包括几乎所有iPhone型号、iPad、Mac、HomePod以及Beats品牌的产品。
虽然诉讼中涉及的这两项专利已于2018年12月4日过期,但该公司却声称,由于侵权行为发生在专利过期前,所以依然有权提起诉讼。
顺便提一下,Rembrandt也向三星发起过类似的诉讼,并最终获得1110万美元赔偿……
这么说,如果Rembrandt胜诉,那么苹果可能也会被判赔上千万美元的数额。
假如苹果有侵权事实,那么也许这家公司可能会以Memoji 形象功能设计被侵权为由起诉小米公司,万一LBT和Rembrandt打赢了自己,正好把小米这边的赔偿金拿出来应急。
咳咳,这只是蜗牛纳个人的脑洞,不要当真哈!
各种侵权诉讼官司、iPhone出货量持续下跌、中国手机企业强势袭来,深陷创新窘境……面对这么多糟心事儿,不知道苹果公司的领导者库克还有什么应对之策呢?
	
——END——
	
编辑:蜗牛纳@北京纳杰专利申请代理机构
本文地址:http://www.bjnajie.com/a/zlsb/4994.html
相关阅读:







