虽然台风“利奇马”走了,但我们怎么躲过下一劫?
发布时间:2019-08-14最近这几天,台风“利奇马”一路北上,多地下暴雨,部分地区出现内涝,已造成浙江、上海、江苏、安徽、山东、福建等多个省市受灾,房屋、农作物等也均收到不同程度的损坏。
	
但在台风“利奇马”肆虐期间,驻军部队、武警官兵、消防队、电力检修员等这群迎风而上的救援英雄们众志成城,坚守抗台一线,顶着狂风洪水,为守护人民群众的生命财产安全,展开了一场有速度、有力度、有温度的救援攻坚战,也因此让数百万受灾人群能够及时被转移安置。
抗洪、防灾,每天都有人在为此努力着,甚至忙得没时间吃饭和睡觉,满脑子都是救人的事儿。
	
现在,台风“利奇马”终于走了,但各地的搜救工作依在紧张地进行中。
因为,还有好多人处于被困以及失踪状态。有句话是这么说:“活要见人,死要见尸。”所以只要失踪的人一天没被找到,他们的亲朋好友就一天抱有期待等着一个结果。
刻意等待的时间总是特别的漫长,也让等待结果的人们痛苦不已。如果失踪的人知道,这些担心自己的人们如此痛苦,会不会感到自责呢?
其实我们都可以避免受困或落水失踪的意外发生,只要在预防台风的工作上做得到位,再掌握一些台风到来时的自救常识,那么关键时候或许能救自己和身边人的性命。
如何躲避台风?在遭遇到强台风有该如何自救自护?蜗牛纳搜集了一些在台风来袭期间的自救方法。
1、台风可能带来暴雨,为了自己的人身和财产安全,能不外出就不外出。但如果室外的积水漫进屋内,一定要及时切断电源,防止触电伤人,同时可采取“小包围”措施,如砌围墙,大门口放置挡水板,配置小型抽水泵等进行防护。
2、如果水位继续上涨,要充分利用准备好的救生器材逃生,或者迅速找一些门板等能漂浮的材料扎成筏逃生。
3、家里最好能准备充足的食物和一些应急物资,比如:手电筒,应急灯,矿泉水,食物,药品等,以备不时之需。因为万一遇上停电或是房屋进水,照明可派上用场,受困后也不至于饿着自己。另外,要记得清理阳台上杂物,将花盆等重物拿掉,避免高空坠物。
4、一定要出门的话,就别带伞了,尽量穿雨衣、雨披。毕竟巨大的风力会在一瞬间把雨伞刮走或者毁掉,而金属柄的雨伞还很可能引发雷击。
5、若正好在野外,尽量找地势低洼处卧倒,并减少衣物,防止衣物鼓起导致被狂风刮走。如果旁边有大树,或其它建筑物,在快被刮到空中的时候,可以双手抱紧,防止被台风吹走。
6、如果遇到狂风暴雨,可以用腰带或结实的绳子把自己绑在坚固的地面附属物上,尽量不要靠近电线杆、高压塔,以免倒塌后触电或砸伤。
7、如果落水,提前深吸一口气,下沉时咬紧牙关,让自然的浮力使你浮上水面,然后借助波浪冲力不断蹬腿,尽量浮在浪头上趋势前冲,奋力游向岸边。
8、如果碰上泥石流,应向两侧山坡上跑,离开沟道、河谷地带。应选择在基底稳固又较为平缓开阔的地方停留。
9、驾驶汽车时要把汽车停靠在安全地方,避免停靠在树木以及广告牌下。若遇到积水,赶紧熄火,千万别启动车辆以免损坏发动机。然后迅速下车,依靠建筑物躲避台风,千万别存躲在汽车内躲避台风的侥幸心理,因为台风来时,汽车不足以抗衡台风。
10、不管在哪里都没来得及撤离,就留在结构坚固的建筑内,但要计划好当强风来临时自己将怎样行动,可以参考上面的第一二条。
台风危害大,无论大家在家里,还是室外,都有可能遇到防范不到而在台风中落难的情况,所以台风自救安全常识,一定要掌握。
但若是遇到不可抗力的因素导致自己受到伤害,那么即便把自救方法全给记熟了,怕是也没什么用吧?
毕竟天灾可免,人祸难逃呀!光是我们人类制造的东西,就可以对逃难的人造成极大的伤害力。
比如广告牌吧,多数广告牌在固定安装之后,其固定架对广告牌的固定不是特别稳党,并且这种广告牌并没有防风的功能,因此在遇到较大的风力时,会导致广告牌倾倒或被刮起。
所以有些人明明绕开广告牌走了,却被不知从哪里吹来的广告牌给击倒,可能陷入晕迷状态。
要是有谁能解决这个问题就好了是不是?实际上也确实已经有人发明了一个防台风广告牌,可以防止被台风刮跑。
	
该专利信息:设置有风力传感器、太阳能光伏板、蓄电池和电机,通过装置设置的型号为NZ‑FS风力传感器的作用,可以检测到风力的大小,风力超过规格时,将信息传送到系统主控器,接着将控制电机开启,电机运转带动第二转轴下端连接的主齿轮运转,进而使得与主齿轮啮合的次级齿轮转动,最后带动第一转轴连接的牌体旋转90°,这样便于风力过大时,空气可以从旋转后的间隙中穿过,防止广告牌因受力过大而倾倒损坏,同时日常时通过太阳能光伏板和蓄电池进行储存装置运转的能源。
其实能被刮起来的不止广告牌,还有路边的树木。
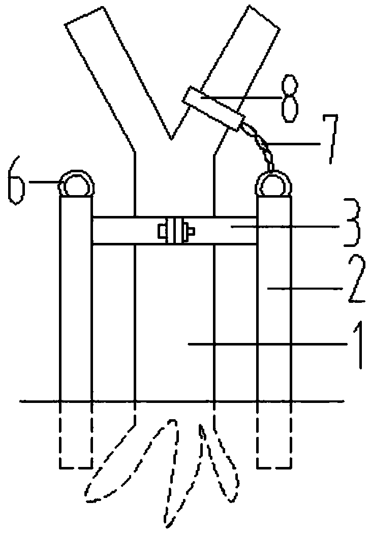
台风到来时城里的园林树木极易被风吹倒,如果树木很大则很容易造成人员伤害,因此,很多沿海城市都对树木作有抗台风设计,在树木周围设置抗台风固定支架。目前对于绿化带、园林中乔木等较为高大的树木,一般会在树木的四周设置有斜向支撑的支撑杆或支撑绳索,以固定树木,然而这样的固定方式稳固性不强,难以抵抗等级较高的台风。
所以为了能让树木有效抵抗等级较高的台风,有某园林公司发明了一种园林树木抗台风支撑结构。
	
该专利信息:外支撑环和内支撑环之间设置有弹簧,可以在台风时吸收园林树木的晃动,稳固支撑园林树木。
在灾区里,少什么就是不能少电源,有些地方非常需要用电,可是台风在陆地上“耍脾气”的时候,谁也不敢开电源,就怕一个不小心把自己给电没了。
一般来说是可以使用应急电源的,她是用于在建筑物发生火情或其它紧急情况下,对疏散照明或其它消防、紧急状态急需的各种用电设备供电的电源。但从现有的技术来看,应急电源需要放置在固定面上,可抗风能力又特别差。
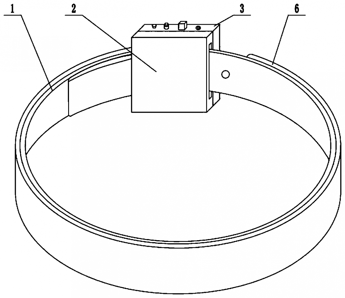
为了解决这一问题,环抱式抗台风应急电源被发明了出来。
	
该专利信息:配电仓中设有防雷器,整流仓中设有CPU、整流模块、直流升压电路、半桥谐振软开关和硬化硅半桥整流电容滤波电路,电池仓中设有锂电池。本发明具有可以与电杆稳定固定,抗风能力强的特点。
现有的抗台风装置结构不稳固,容易被海浪或台风拔起,抗台风效果不明显。
虽然在台风来袭的时候,人们能不出去就不出去,可如果呆的地方也开始危险了起来,当然得赶紧逃生。
有些人不方便跑路,只好利用电梯逃生。但台风带来的狂风暴雨对电梯,尤其是首层层门直接设于大厦外墙的电梯带来严重威胁。当层门打开时,雨水会灌入轿厢和井道内造成轿厢或井道内的元件损坏。由于井道与不同楼层连通,使得不同楼层的层门形成强大压差,台风引起的强大风压,会将层门破坏,进而进入大厦内部,对幕墙等建筑构件造成破坏。
为了不让这种情况发生,有人研发出了一种具有防台风功能的电梯层门。
	
该专利信息:包括配合设置的左层门和右层门,所述左层门和右层门均由上门板和下门板组成,所述上门板底部设有滑轮和限位板,所述下门板上设有支承T型件;所述上门板和下门板之间设有用于限制上门板和下门板相对滑动的滑动限位锁;所述支承T型件与升降机构连接,所述升降机构能够驱动支承T型件上下移动;一所述下门板上设有锁扣,另一所述下门板上设有锁舌,所述锁舌能够伸入所述锁扣中,将左右两侧的下门板连接固定。本发明提供的电梯层门包括配合设置的左层门和右层门,所述左层门和右层门均由上门板和下门板组成,可分层关闭,以防止水浸发生时轿厢和井道被水侵入。
虽然是可分层关闭,并防止水浸发生时轿厢和井道被水侵入的电梯层门。但蜗牛纳不建议大家在台风来袭的时候坐电梯逃生,不然遇上突发事件很可能被困在电梯中。
如果运气不好,在海上的时候正巧遇上了台风,那么就比较需要抗台风装置及抗台风系统。
	
该专利信息:涉及海上安全设施技术领域,尤其是涉及一种抗台风装置及抗台风系统。抗台风装置,包括多个抗风单元,多个所述抗风单元首尾顺次连接;所述抗风单元包括沿竖直方向设置的下沉部和缓冲部,所述下沉部通过弹性连接件与所述缓冲部连接,所述下沉部位于海面以下,所述缓冲部位于所述海面以上,所述缓冲部能够相对于所述下沉部发生倾斜,所述弹性连接件用于使所述缓冲部复位。抗台风系统,包括多个所述的抗台风装置。本实用新型结构稳固,能够破坏台风中心气旋,从而削弱台风的破坏力,增强抗台风效果。
要是掉进水里了又该如何自救?而且水上救生还受天气的影响,如果是风浪迭起的大海及乌云密布的天气,或是光线不好的夜晚,都对救援工作造成很大的困扰,岸边人员或者运输船上的工作人员并不知道有人落水,救援的及时性受到很大限制,在等待救援这段时间内保证落水者的身体机能保持正常也是一个所要解决的问题。
救生衣是有点用处,颜色亮容易被救援人员发现。可不是每个人家里都有救生衣,而且外出时候也不能随身携带着他。倒是有一种落水自救装置可以再平时带着,并不会让自己行动不便。
	
该专利信息:包括自动扣皮带,自动扣皮带包括带体和设置在带体前端的自动扣皮带头,自动扣皮带头的外侧面设置有具有空腔的盒体,空腔分为充气腔和电源腔,充气腔内放置有叠氮化钠固体药片,充气腔的左侧壁设置有开口,自动扣皮带头与卡扣部之间的带体的外侧面固定粘接有环形防水气囊,环形防水气囊的前端与开口连通,充气腔内设置有PTC发热体,PTC发热体电性连接有继电器,电源腔还放置有蓄电池和控制模块,盒体的外侧设置有液体压力传感器,控制模块根据液体压力传感器发送的信息控制继电器所处电路的通断。本装置能够为使用者在落水时提供安全保障,且穿戴时不影响使用者的日常生活工作,极具实用性。
从台风“山竹”、“海燕”到现在的“利奇马”,已经有越来越多的工程机械、新发明专利参与救援,为灾区人民出一份力。
在天灾面前,任何生命都是渺小脆弱的,但有这些勇挑社会重任的人在,我们的生命又是伟大坚韧的。让我们为这些前线英雄点赞的同时,也感谢他们在风雨里为灾区人群四处奔走!
——END——
	
编辑:蜗牛纳@北京纳杰专利申请代理机构
本文地址:http://www.bjnajie.com/a/zlsb/5205.html
相关阅读:







