小米发布的环绕屏概念手机,三星苹果早已申请了专利!
发布时间:2019-09-269月24日,小米在5G新品发布会上推出4款新品,分别是小米全面屏电视Pro、小米9 Pro、小米MIX Alpha、MIUI 11。
据了解,此次发布的小米MIX Alpha是首次搭载一亿像素摄像头的环绕屏概念手机,屏占比达到了180.6%,售价19999元,预计12月底上市。
	
雷军称由于这款手机不考虑量产,不考虑销售,不加研发费用堆料就接近2万块,最终定价19999元是很厚道的,主要是为了给发烧友体验。
看着挺炫的样子,就一块屏幕环绕包裹着设备,所以这算是一种最新的概念手机吗?
	
虽然蜗牛纳买不起,但上网查个信息什么的还是能查得起。于是蜗牛纳才知道小米不是第一家做环绕屏概念手机的公司。
因为,三星与苹果早就已经申请了包裹设备的柔性OLED显示屏技术专利。
小米MIX Alpha和他们的设计风格较为相似,不过小米机身的屏幕环绕包裹可能达到了90%,这做得比三星、苹果的专利更彻底一些。
	
但让蜗牛纳感到奇怪的是,既然这两家公司很早就申请了包裹设备的柔性OLED显示屏技术专利,为何不赶在小米之前制作并发布此类手机呢?
苹果的话,有点类似于保守派,或许要再多测试N遍才敢给用户使用;可三星是个敢于突破自我的手机企业,怎么在今年在 8 月的 Galaxy Note 10 发布会上,不发布这种环绕屏的机子呢?
也许,明年 2 月的Galaxy S11 系列智能机,会采用这种技术?
不过据荷兰科技博客 LetsGoDigital 爆料:三星公司近期的一项双屏显示专利,暗示了 Galaxy S11e 或配备较大的副显示屏。鉴于该公司尝试过 Infinity-O 打孔屏,且尚未做好提供屏下摄像头的准备,其在全面屏的设计方案上或许会另辟蹊径。
	
虽然其它一些厂商在推动所谓的“瀑布屏”,但三星也在探索通过双面屏来实现新颖的全面屏设计。
2018 年 6 月,三星电子向美国专利商标局(USPTO)申请了一项“电子设备”的外观设计专利。
随后于 2019 年 9 月 10 日公布,其中包含了七张专利草图。而为了更好地提供可视化的体验,LetsGoDigital 特地制作了一系列 3D 渲染图。
	
蜗牛纳看了该媒体的报道,觉得这个技术最有意思的地方是:机身不仅没有采用弹出式前摄或打孔屏下摄像头,反而还很依赖后摄和较大的副屏,一次来实现高清的人像自拍或视频通话。
但与主屏不同的是,副屏并没有采用曲面的设计,而是纯平的一块,并且边框较厚。不过这么做的好处是,当你将它摆放在桌面上时,可以防止屏幕过快磨损。
	
这和小米MIX Alpha完全是不一样的风格呢,蜗牛纳想知道小米的新机在被我们按在桌面上摩擦摩擦的时候,会否很快有磨损的情况出现?
嗯……这是个问题呢,只能等买到小米MIX Alpha的人来个测评了。(蜗牛纳好坏坏)
继刘海屏、折叠屏后,环绕型柔性屏也快要流行起来了。
不少公司也申请了与柔性OLED显示屏相关的专利,例如:
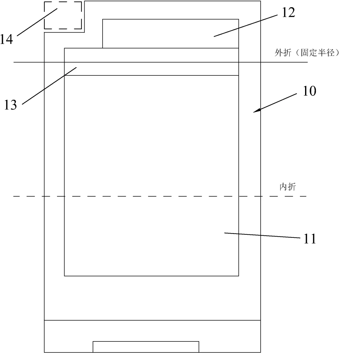
一种柔性OLED显示屏及其应用方法:
	
该柔性OLED显示屏包括组成一体的具有显示功能的主显示屏、副显示屏和弯折区,该弯折区的相对两端分别衔接该主显示屏和副显示屏。该主显示屏能够向内折叠。该弯折区能够以固定曲率向外弯折。该柔性OLED显示屏的应用方法,当该弯折区向外弯折时,通过该主显示屏显示,该副显示屏不显示,靠近该主显示屏的弯折区也可显示。当该主显示屏向内折叠后不显示,并且该弯折区向外弯折,该副显示屏和靠近该副显示屏的弯折区可用来显示。本发明柔性OLED显示屏及其应用方法实现了柔性显示屏可弯折设计和使用;实现了柔性显示屏可折叠设计和使用。
一种柔性OLED显示屏及其制作方法:
	
该专利包括:柔性基板、阳极、阴极和有机发光层,所述有机发光层位于所述阳极与所述阴极之间,所述阳极覆盖于所述柔性基板上端,所述阳极的电极和阴极的电极均由液态金属制成,所述柔性基板由柔性材料制成,本发明提供的一种柔性OLED显示屏及其制作方法,利用液态金属电子电路打印技术,将阴极电极和阳极电极直接打印在柔性基板上,制作简单,易于成型,技术难度低,可实现大规模批量生产,降低成本,同时,独立的设计和合理的搭配,对原设备运行无影响,且适用于几乎全部工况。
一种基于柔性OLED显示屏的新型仿真成像系统:
	
该技术特点在于:包括视景计算机、视景控制计算机、视景程控设备、多个OLED显示屏;所述视景控制计算机与视景计算机相连接,用于控制视景计算机开关和调整参数;所述视景计算机通过视景程控设备分别于多个显示屏相连接,用于根据全球视景数据库调取模拟机所在物理位置视景信息,并产生视景图像输出至视景程控设备后,由视景程控设备根据视景计算机输出的视景信息,通过网络解码分配到不同的OLED显示屏上。该实用新型结构简单、体积小、重量轻且能够大幅降低生产成本。
如果这些专利派上了用场,也许有些厂商会采用这些新技术制作更高科技的柔性屏手机。
当然,如果价格再美丽一些就好了。
	
假如明年三星发布了这种新的全面屏手机,而小米MIX Alpha的价格也有所下降,你会选择买哪种呢?
——END——
	
编辑:蜗牛纳@北京纳杰专利申请代理机构
本文地址:http://www.bjnajie.com/a/zlsb/5363.html
相关阅读:







