-
专利
专利无效宣告 食品专利申请 日本专利申请 家具专利费用 发明专利费用 专利申请流程 -
商标
北京商标注册 国际商标注册 商标流程费用 商标驳回复审 香港商标注册 美国商标注册 -
版权
美术版权登记 版权代理注册 软件版权登记 汇编作品版权 文字作品版权 版权登记费用 -
法律服务


两天申请注册10813件商标,是贫穷阻碍的我的商标注册梦!
发布时间:2018-08-10最近在商标界火了两家公司,分别是珠海典昱贸易有限公司和珠海冠芮贸易有限公司。
为什么这两家公司会火呢?
因为这两家公司短时间申请注册商标的数量简直让无数的商标代理公司流口水。

一家一天之内申请注册5060件商标,另一家一天之内申请注册5753件商标,太给力了有木有!
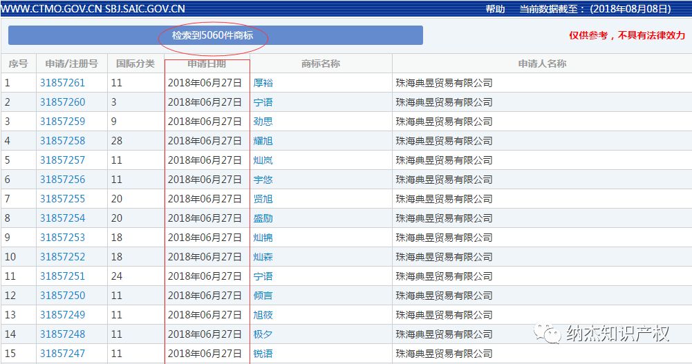
珠海典昱贸易有限公司在6月27日一天申请注册商标数5060件
(图片来源商标局截图)


珠海冠芮贸易有限公司在7月27日一天申请注册商标数5753件
(图片来源商标局截图)


看到这样的申请数我情不自禁的算了一下账,现在商标注册的官费是300元一件,我们按照官费来算这两家公司一天在注册商标上花费的钱数分别是1518000元和1725900元。
朋友们,这可是真正的土豪呀,于是我赶紧在国家企业信用信息公示系统查了下这两家公司背后的大佬是谁。
不查不知道,一查吓一跳。这两家公司竟然是同一天成立,法定代表人同一个,就连住所地址都一模一样。Oh my God,这才是真正的大佬呀,低调做人,高调做事,深藏不漏!
(图片来源国家企业信用信息公示系统截图)


对于大佬的这种行为,有人认为这个大佬利用两家公司申请如此之多的商标是想骗取政府补助,因为珠海横琴新区商标注册授权后是有奖励的。
对这个看法我认为不是,珠海横琴新区注册商标授权后政府是有奖励,奖励还不少,每个商标注册号给予800元扶持,而且一个申请人拥有多个商标注册号的,还可按件分别扶持。
但大家可能没有注意这样一句话:单个企业可获扶持金额不超过5万元。
珠海横琴新区对新授权的商标资助具体规定如下:
(一)对企业在国内注册商标的,经认定后,每个商标注册号给予800元扶持,一个申请人拥有多个商标注册号的,可按件分别扶持,单个企业可获扶持金额不超过5万元;
(二)企业注册商标被认定为“中国驰名商标”、“广东省著名商标”的,分别对企业一次性给予100万元、30万元扶持;
(三)在香港、澳门、台湾地区注册商标的,每个商标号给予3000元扶持,不得重复申请;
(四)企业商标通过马德里体系取得注册的,在获取《商标注册证》并通过各指定国核准注册后一次性申领扶持资金,扶持金额为每件商标注册官费的60%,最高不超过5万元;
(五)在欧盟或拉美地区取得注册的,每件给予1万元扶持;在其他单一国家取得注册的,每件给予3000元扶持。
(六)对获得国家商标战略实施示范企业,开展制定商标战略规划、商标预警和商标运营等工作的,一次性给予不超过20万元扶持,扶持金额原则上不超过开展上述工作实际发生费用的50%;
(七)同一商标扶持总额不超过10万元。
对申报材料不实、恶意套取财政资金的企业,依法追回已扶持资金,其行为列入横琴新区失信企业名单,依法对失信企业进行联合惩戒。
该规定来源于《横琴新区促进知识产权工作暂行办法》,2017年12月发布,有效期3年。
从这个规定一看,两家企业最多能获取资助10万元,而花费的商标注册费用就高达3243900万元,所以我认为这不是为了骗取政府补助。
除非大佬理解为一个商标注册号单个企业可获扶持金额不超过5万元,但这可能吗?
当然大家猜测骗取政府补助也有一定的道理,毕竟突然一天注册那么多商标的确不合乎情理,但具体原因恐怕只有当事人自己知道了。
另,对土豪的这种商标注册行为,你怎么看呢?
我:爸爸,请找我申请注册商标吧
本文地址:http://www.bjnajie.com/a/sbpb/3288.html

相关业务:





