-
专利
专利无效宣告 食品专利申请 日本专利申请 家具专利费用 发明专利费用 专利申请流程 -
商标
北京商标注册 国际商标注册 商标流程费用 商标驳回复审 香港商标注册 美国商标注册 -
版权
美术版权登记 版权代理注册 软件版权登记 汇编作品版权 文字作品版权 版权登记费用 -
法律服务


蔡某:那么多人注册小猪佩奇商标,为什么矛头都指向我?
发布时间:2018-09-30最近“小猪佩奇商标国内遭抢注”的话题火了,也彻底带火了蔡某。


为什么说“小猪佩奇商标国内遭抢注”带火了蔡某呢?原因就是蔡某申请的“小猪佩奇”相关的商标最多,枪打出头鸟呀!

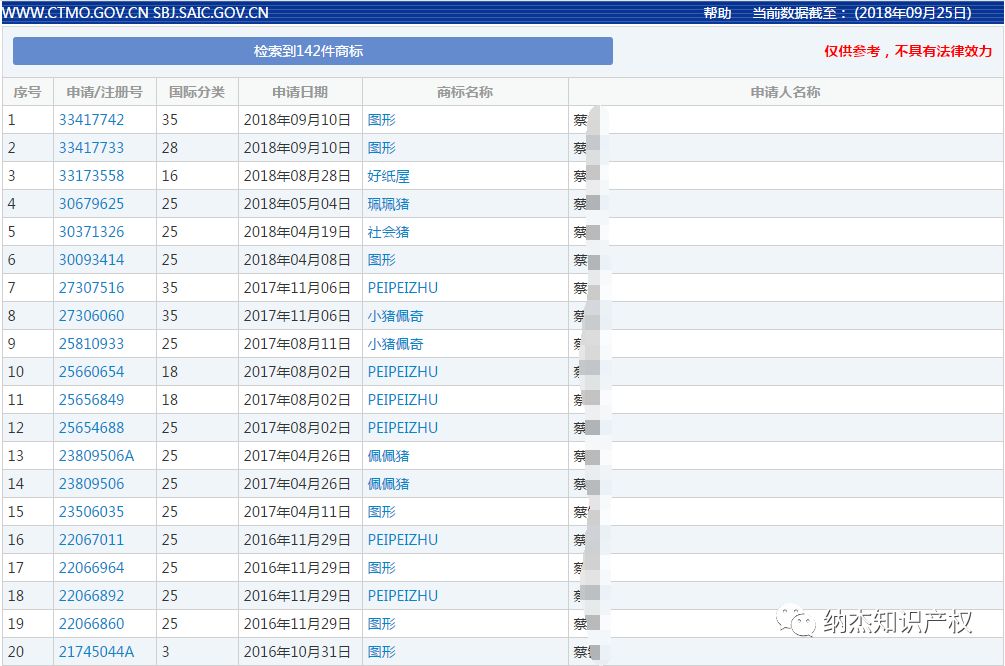
上面的截图新闻中有说蔡某在2011年就注册了100多个,看到这句话我真的要为蔡某喊声冤了。
商标局官网显示蔡某共注册“小猪佩奇”相关商标141个,时间跨度2012-2018年。所以说蔡某在2011年就注册了100多个,完全是胡说八道的!

除了这些,新闻上还有这样一句话:小猪佩奇商标及著作权权利人奈尔·特瑞娜表示小猪佩奇商标在华遭遇恶意抢注,已经损失了数千万美元。
然后就有人评论了:中国人,没毛病。

看完中国人,没毛病这句话,我特TMD无语,这都能扯上关系!
不过既然说到了这个话题,我就要让大家看看商标抢注这个事情不只在中国人身上才发生,外国人的嘴脸也很不堪:

1989年,北京市药材公司发现其“同仁堂”商标在日本被抢注。该公司遂以“同仁堂”为公众熟知的驰名商标为由,请求日本特许厅撤销该不当注册的商标,日本要求提交“同仁堂”系我国驰名商标的证明文件。
为了保护我国商标在他国的合法权益,商标局在做了广泛的社会调查之后,于1989年正式认定“同仁堂”商标为我国驰名商标。

2001年,联想开始全球化发展步伐,却发现联想的英文名Legend在全球竟被100多家公司注册过商标,行业遍及娱乐、汽车等。据传,联想试着在欧洲买了两个回来,但很快发现,要和全球100多家公司去谈。
直到2003年4月28日,联想无奈之下,宣布花费巨资更换“Legend”为“lenovo”。

一度在业内引起强烈反响的西门子合资公司抢注中国海信商标(HiSense),该事件不仅在业内引起轩然大波,还得到了中国政府方面的关注。然而西门子公司在与海信就商标转让问题进行谈判的同时,将海信告上德国科隆地方法院。
经过充分磋商,西门子与海信就商标问题于2005年3月10日达成和解,西门子在德国科隆地方法院撤诉,海信商标物归原主。

2006年7月,王致和集团拟在30多个国家进行商标注册时,发现“王致和”腐乳、调味品、销售服务等三类商标,已被一家名叫欧凯的德籍公司于2006年3月在德国注册,而欧凯公司申请的商标标识与王致和集团产品使用的商标标识一模一样。
欧凯公司是柏林一家主要经营中国商品的超市,调查发现,欧凯公司还曾抢注过“白家”、“洽洽”、“老干妈”、“今麦郎”等众多知名商标。
2007年初,王致和向慕尼黑地方法院提起诉讼,要求判定欧凯百货公司无偿归还商标并予以赔偿。
2009年4月23日,慕尼黑高等法院对王致和诉欧凯商标侵权及不正当竞争一案作出终审判决:欧凯公司不得擅自使用王致和商标,否则将对其处以25万欧元的罚款或对主要负责人处以六个月监禁;欧凯公司应注销其抢注的“王致和”商标。至此,备受关注的王致和诉德国欧凯恶意抢注商标案,经过两年零三个月的讼争,最终以“王致和”商标物归原主而画上了圆满的句号。
此案号称“中国知识产权跨国维权第一案”。这是中国加入世贸组织后第一起中国企业在国外以原告身份进行的商标诉讼案,也是国内企业在海外胜诉的第一个知识产权官司。

一家名为“加拿大中华老字号商标股份有限公司”的加拿大公司,在当地的面食商品上申请注册了“桂发祥十八街”商标。同时遭到抢注的还有“冠生园”、“六必居”等其他中华老字号著名商标。天津桂发祥麻花饮食集团公司接到消息后,在公告期间向加拿大当地法院提出异议。
由于桂发祥反应迅速,在商标还在公告期内就提出反诉,而且资料组织充分,经过3个月的时间终于打赢了官司,拿回了自己的商标,在加拿大的销售没有受到太大影响。

天津著名老字号“狗不理”的商标曾在日本遭抢注,历时10余年的不懈努力,经过多次的谈判与交涉,天津狗不理集团有限公司最终于在2007年9月拿回了遭抢注的两个“狗不理”商标。至此,在海外漂泊多年的“狗不理”商标终于回家了!这是我国老字号企业在海外维权成功的经典案例。
然而,在海外遭遇商标抢注的中国企业绝非仅以上几家。

在2017年8月31日,商标局就商标抢注在官网上发布了“海外商标抢注预警信息”的公告,提醒国内企业注意进行维权。
由此可见,商标抢注是全球性现象,所以,别动不动就拿中国人上纲上线。
编辑:蜗牛纳@北京纳杰商标代理机构
本文地址:http://www.bjnajie.com/a/sbpb/3448.html
来源:纳杰知识产权微信公众号

推荐阅读:





