-
专利
专利无效宣告 食品专利申请 日本专利申请 家具专利费用 发明专利费用 专利申请流程 -
商标
北京商标注册 国际商标注册 商标流程费用 商标驳回复审 香港商标注册 美国商标注册 -
版权
美术版权登记 版权代理注册 软件版权登记 汇编作品版权 文字作品版权 版权登记费用 -
法律服务


特朗普臆造词COVFEFE商标,为何会造成不良影响被无效宣告?
发布时间:2019-06-05你知不知道“COVFEFE”?这个意义不明的单词曾经在2017年大火过,其来源居然是美国总统特朗普?
2017年5月30日,唐纳德·特朗普在twitter上创造了一个新词“Covfefe”,引发了推特上三千万粉丝的关注。

不管怎么查,都没查到这个单词的意思,不少外国网友还上维特解释“Covfefe”其实在英语中是一个并不存在的词汇,所以……大家查不到是很正常的。
有人猜是特朗普一时手滑打错了,也有的猜他是故意这么干的。但从特朗普删文的速度来看,蜗牛纳觉得前一个的猜测比较靠谱,毕竟特朗普以前也有打错单词的时候。(貌似还不止一次了)
但就这样一个错误的单词,居然在川普发完又删后的短短数个小时内,不仅被人抢注了covfefe.us的域名,还被印成了带有covfefe印花的T恤推销。
最牛的是,瑞典时尚设计师兼企业家霍克内特(Per Holknekt)仅花3600瑞典克朗(约2636元人民币)就将“Covfefe”给注册成了欧洲地区的商标,从而让他拥有了这个单词的专属商业权利。霍克内特为此还表示:若有谁在欧洲地区拿这个词作商业用途,都得经过他的同意才可以。

蜗牛纳也是挺佩服霍克内特的,人家的商标意识这么强也就算了,竟然连抢注速度都如此之快!估计特朗普也没想到他随手打的单词居然这么受欢迎。
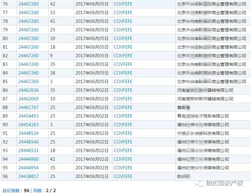
不光国内的手速也不遑多让,很快的也有不少公司和个体户纷纷申请“COVFEFE”商标,到目前为止已经有96件注册申请信息了。

只是,因为同天申请同名同类商标的太多了,因此,某些类别上的“COVFEFE”商标,得通过抽签的方式来决定最终“花落谁家”。

真的是太猛了,但对在商标局工作的人来说确很常见,因为同一时段接到大量同名同类商标的同天注册申请是很常见的事儿,比如国内某明星在不经意间说的某个词,在成了全民网络流行语后,就会有很多人同时申请。
该说商人在这方面的嗅觉太好了呢,还是超好呢?
对部分商人来说,嗅觉太好似乎也不全是好事,因为“COVFEFE”商标注册的成功率似乎也没有自己想象的那样高。
这不,最近蜗牛纳就看到了一则“COVFEFE”商标无效宣告请求裁定书。

该申请人是在2018年08月30日对第24878118号“COVFEFE”商标(以下称争议商标)提出无效宣告请求。

这件争议商标由被申请人于2017年6月19日申请注册的,而后2018年6月21日核准注册,核定使用在第19类“木材;大理石;水泥;瓷砖;非金属窗;非金属门;非金属水管;非金属地板;非金属建筑材料;非金属建筑物”商品上。
再来看看申请人的主要理由:争议商标是美国总统唐纳德·特朗普在社交平台上创造的词汇,具体含义不明,在网络上引起热议,用作商标易产生不良社会影响。并根据《中华人民共和国商标法》(以下称《商标法》)第十条第一款第(八)项的有关规定,请求对争议商标予以无效宣告。
而被申请人在规定期限内未予答辩……蜗牛纳也不知道这位是不是放弃了。
然后商评委在审查过后,也觉得申请人的理由很充分,因此判定争议商标予以无效宣告。
看到这里,你有没有觉得这个无效宣告理由很眼熟?蜗牛纳以前曾经写过关于注册英文为商标的文章,比如那个“GoingDown”等于“够淫荡”的商标,也是因为容易产生不良影响被撤销了。



这一波三折,让我等吃瓜群众瑟瑟发抖,以后注册英文为商标什么的,可真得要三思后行了。当然,像特朗普这样自创的,或是用拼音缩写(意思脏话词语)的都不可以注册!
例如“CNM”商标(网络用语释义为问候对方母亲的骂人话):

“NMSL”商标(网络用语释义为诅咒对方母亲的骂人话):

还有看起来很正经八百,却被译为“纯裸”的“pure naked”商标。

总之注册英文类商标需谨慎,别轻易将一个没有含义也没有读音的“网红”臆造词注册为商标,否则浪费金钱和时间的是自己,而非审核商标的人员。
——END——
本文地址:http://www.bjnajie.com/a/sbpb/4850.html

相关阅读





