-
专利
专利无效宣告 食品专利申请 日本专利申请 家具专利费用 发明专利费用 专利申请流程 -
商标
北京商标注册 国际商标注册 商标流程费用 商标驳回复审 香港商标注册 美国商标注册 -
版权
美术版权登记 版权代理注册 软件版权登记 汇编作品版权 文字作品版权 版权登记费用 -
法律服务


大家好,我想注册“渣渣辉”商标得唔得?
发布时间:2019-08-23近日,有一款游戏因为一位艺人的陈年老梗在微博上又火了起来。

看上面的图片有没有觉得很熟悉呀?
相信在以前,很多人都被张家辉代言的“贪玩蓝月”页游广告给洗过脑,然后整天脑子里都循环着那句“大噶好,我系渣渣辉”。
那时候的张家辉普通话讲得并不标准,所以在自我介绍时,其发音听起来很像“渣渣辉”,因此不少网友亲切地称他为“渣渣辉”。
后来,在《鲁豫有约》节目的视频中,讲普话已有所进步的张家辉就用他的塑料港普再一次还原了“贪玩蓝月”广告里那段非常洗脑的经典台词:

在念完这段台词之后,现场的所有工作人员,包括张家辉本人都笑得前仰后合。
张家辉在采访中表示因为此事,他后来主动叫停了这个代言,毕竟天天霸屏的滋味并不好受,久而久之就被网友嘲笑讽刺,以至于很难摘掉“渣渣辉”的称号。
虽然张家辉曾说他因为“贪玩蓝月”这款游戏觉得整个中国都在笑他,并和该游戏公司终止合作。但他是个非常有知识产权保护意识的人,所以嘴上说不喜欢“渣渣辉”,实际上却申请注册了相关商标。
根据国家知识产权局官网,蜗牛纳搜索了“渣渣辉”商标注册信息,可以看到在2019年5月30日,张家辉申请了“渣渣辉”全品类商标,共有45项。

但“渣渣辉”商标并不是张家辉第一个申请注册。实际上早在18年1月22日,制作“贪玩蓝月”的贪玩公司就已经注册了多品类商标,只不过至今基本无效。
至于其他公司注册的,多数也处以无效状态。

总之,不管是推出“贪玩蓝月”游戏的贪玩公司,还是其他企业或个体户,基本上都没能成功注册该商标。

不得不说,“渣渣辉”这个梗在网络上火起来后,确实让一些人动起了歪心思,企图通过盗用张家辉的形象来牟利。
此前,曾有一款名为“我是渣渣辉”的游戏上架,该游戏广告页面上便使用了张家辉的形象。而后张家辉于2018年8月9日在微博发布声明,称已经在2018年2月即终止了与某游戏开发商的形象代言合作,无授权任何第三方使用张家辉的广告代言形象,并称“我是渣渣辉”游戏的开发商或运营方已经构成侵权。

从该生命中可看出,那家公司为了蹭张家辉的热点才铤而走险,在当事人未经允许的情况下擅用张家辉的名义和形象,因此才会严重侵犯到了张家辉本人的肖像权,名誉权等利益。
所以,这次张家辉自己申请“渣渣辉”全品类商标的注册,很明显是预防被人抢注后滥用。
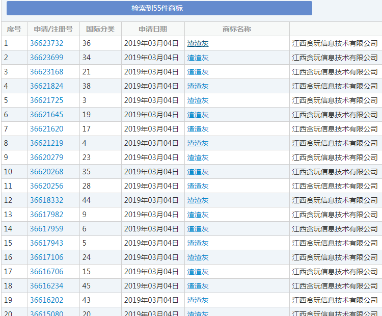
不过贪玩公司在今年3月还申请了55件“渣渣灰”商标。

不知道张家辉看了后,是否会立即采取维权措施呢?
除此之外,“喳喳辉”商标也被香港某公司给注册了,但好在已经处于无效状态。

以及“楂楂辉”商标也没能逃过商家的“魔爪”,虽说这四件商标均处于待实质审查状态,但蜗牛纳认为该商标格调不高,且也容易造成不良影响,因此被驳回的概率较大。

在张家辉抢注完“渣渣辉”商标之后,与他一起拍过“贪玩蓝月”的古天乐、陈小春等人会有所行动吗?
网友们对此只想称赞张家辉是商业奇才。

蜗牛纳还在评论中注意到,有些网友提醒因明言明句“黑红”的黄晓明去注册商标,毕竟现在就有好多点都在拿黄晓明在《中餐厅3》节目里曾说过的“明言”做广告。
说起黄晓明呀,蜗牛纳是真的认为他满身都是梗,而且有些梗在商家眼里还挺有市场的。
比如“黄教主”商标,目前蜗牛纳只搜索到看到5件相关商标,并且还都已经失效了。

不晓得今年频频口吐“明言”的黄教主,其商标是否再被抢注呢?也许有初生的“小牛犊”会做一个尝试吧。
不过黄晓明曾说过的英文“not at all”,不管是纯英文单词还是其中文音译的“闹太套”,都无人将之注册成商标。
莫非是这个梗不够好玩也不够火?
好吧,黄晓明过去的老梗,其实不注册成商标也无所谓,但今年他在《中餐厅3》中开辟的新网络用语,可一定要及时进行商标注册。
毕竟,黄晓明的“明学”都火到了国外,连人民日报也跟着转发了。

然后网友们发现“我不要你觉得,我要我觉得,都听我的!”这句话用在爱国上,实在太合适了!

蜗牛纳认为,黄晓明可以试着注册“明学”商标。
至于“明言明句”,这是对成语“名言名句”的不规范使用,且在字形构成、呼叫等方面相近,作为商标使用在指定服务项目上的话,容易误导公众特别是未成年人对规范成语的认知,从而造成不良社会影响。这已构成《中华人民共和国商标法》第十条第一款第(八)项所指的不得作为商标使用的情形。
那么火起来的黄总裁式网络流行词语,你觉得能注册吗?

从商标法的规定上看,大部分网络流行语并不具备显著的特征,也并无任何实质性含义。当然,这并不是意味着不能把网络流行语当做商标申请,只是根据商标的定义来看,网络流行语申请成功率极低。
更何况,网络流行语就是快餐文化的一种表现形式,特别容易“过气”。而且商标注册周期长,可能等商标注册下来候,曾经在网上火爆的这些词语也已经不流行了,那么企业就要承担一些损失。
要知道,商标是企业的形象标志,是企业长期发展的一种无形资产,要经得起时间的沉淀跟考验。总不能在某个词语过时了后,企业就把商标给更换了吧?
总而言之,企业在进行商标注册前一定要慎重再慎重。蜗牛纳建议委托一个专业、高效、诚信的商标代理机构来进行商标注册申请,以确保注册申请的成功率以及今后的商标维权。
——END——
编辑:蜗牛纳@北京纳杰商标代理机构
本文地址:http://www.bjnajie.com/a/sbpb/5256.html

相关阅读





