

机械类专利申请书范文
发布时间:2018-04-08本文是一篇专利名称叫做“冲床自动上料机械手”的机械类专利申请书范文,类型为实用新型专利。
机械类专利申请书范文摘要
本实用新型涉及机械加工设备领域,尤其是一种冲床自动上料机械手,它包括基座,在基座上通过立柱设置有机械臂连接座,在机械臂连接座上设置有一号机械臂,在一号机械臂上设置有齿条,在机械臂连接座上设置有与齿条传动连接的一号电动机;在一号机械臂上滑动连接有二号机械臂,在二号机械臂的顶端设置有机械手。本实用新型所得到的冲床自动上料机械手,通过一号机械臂、二号机械臂之间的合理结构设计,实现两者之间同步伸缩,伸缩效率高,稳定性高,极大的提高了加工效率。另外可转动、可在竖直方向伸缩定位,极大的提高了设备的适用性。
	
机械类专利申请书范文权利要求
1.一种冲床自动上料机械手,其特征是:它包括基座,在基座上通过立柱设置有机械臂连接座,在机械臂连接座上设置有一号机械臂,一号机械臂与机械臂连接座之间滑动连接,在一号机械臂上设置有齿条,在机械臂连接座上设置有一号电动机,一号电动机上的齿轮与齿条配合;在一号机械臂上滑动连接有二号机械臂,在一号机械臂的两端设置有导轮,在导轮上绕设有皮带,导轮一侧的皮带其中一个位置与机械臂连接座之间固定连接,导轮另一侧的皮带与二号机械臂之间固定连接;在二号机械臂的顶端设置有机械手。2.根据权利要求1所述的一种冲床自动上料机械手,其特征是:在立柱的顶端设置有减速器,减速器与机械臂连接座之间转动连接,在立柱上设置有与减速器配合连接的二号电动机。3.根据权利要求1或2所述的一种冲床自动上料机械手,其特征是:所述的立柱与基座之间滑动连接,立柱在基座上竖直滑动;在立柱上设置有螺母,在基座上转动连接有丝杆,丝杆穿入螺母与螺母之间配合连接,丝杆的端部与设置在基座内的三号电动机之间传动连接。4.根据权利要求3所述的一种冲床自动上料机械手,其特征是:所述的机械臂连接座上设置有横向通孔,所述的一号机械臂设置在横向通孔内,且在横向通孔内滑动连接。5.根据权利要求4所述的一种冲床自动上料机械手,其特征是:所述的一号机械臂为中空结构,二号机械臂则设置在一号机械臂的中空结构内,且在中空结构内滑动连接。6.根据权利要求5所述的一种冲床自动上料机械手,其特征是:在二号机械手的端部设置有竖直方向的伸缩气缸,所述的机械手固定在伸缩气缸的伸缩端上。
机械类专利申请书范文说明书
技术领域
本实用新型涉及机械加工设备领域,尤其是一种冲床自动上料机械手。
背景技术
目前对于零部件在冲床上的加工大都采用手动上料,手动将零件安置在冲床的模具上,其操作效率低下,而且装夹安置精度低,同时由于冲床上的模具区域为工作区域,在人工作业时容易因误操作而引起安全事故。
发明内容
本实用新型的目的是为了解决上述技术的不足而提供一种结构简单,能实现冲床上的自动上料且效率高,安全性高的冲床自动上料机械手。
为了达到上述目的,本实用新型所设计的冲床自动上料机械手,它包括基座,在基座上通过立柱设置有机械臂连接座,在机械臂连接座上设置有一号机械臂,一号机械臂与机械臂连接座之间滑动连接,在一号机械臂上设置有齿条,在机械臂连接座上设置有一号电动机,一号电动机上的齿轮与齿条配合;在一号机械臂上滑动连接有二号机械臂,在一号机械臂的两端设置有导轮,在导轮上绕设有皮带,导轮一侧的皮带其中一个位置与机械臂连接座之间固定连接,导轮另一侧的皮带与二号机械臂之间固定连接;在二号机械臂的顶端设置有机械手。
上述技术方案,通过一号机械臂和二号机械臂之间的合理结构设计,在伸缩过程中,能实现一号机械臂和二号机械臂同时伸缩,提升伸缩长度,同时在二号机械臂的端部设置的机械手可将零件置于夹具内,由于一号机械臂、二号机械臂伸缩轨迹的定位,可提高对零件的安置精度,还能极大的提高工作效率。而且利用机械臂的水平伸缩,可减少冲床上凸模的运行距离,进一步提高加工效率,另外自动化的操作,避免安全事故的发生。
在立柱的顶端设置有减速器,减速器与机械臂连接座之间转动连接,在立柱上设置有与减速器配合连接的二号电动机。该结构的设计,能有效的实现机械臂连接座在立柱上转动,进一步提升机械手的工作能力。
所述的立柱与基座之间滑动连接,立柱在基座上竖直滑动;在立柱上设置有螺母,在基座上转动连接有丝杆,丝杆穿入螺母与螺母之间配合连接,丝杆的端部与设置在基座内的三号电动机之间传动连接。该结构的设计,能实现对机械臂的高度进行调整,进而使其适用于不同的冲床等,适用范围大。
所述的机械臂连接座上设置有横向通孔,所述的一号机械臂设置在横向通孔内,且在横向通孔内滑动连接。所述的一号机械臂为中空结构,二号机械臂则设置在一号机械臂的中空结构内,且在中空结构内滑动连接。该结构的设计,能实现一号机械臂、二号机械臂、机械臂连接座三者之间的连接牢固性,稳定性更高。
在二号机械手的端部设置有竖直方向的伸缩气缸,所述的机械手固定在伸缩气缸的伸缩端上。该结构的设计,能实现机械手在竖直方向发生一定的位置,实现将零件更加精准的定位在模具内。
本实用新型所得到的冲床自动上料机械手,通过一号机械臂、二号机械臂之间的合理结构设计,实现两者之间同步伸缩,伸缩效率高,稳定性高,极大的提高了加工效率。另外可转动、可在竖直方向伸缩定位,极大的提高了设备的适用性。
附图说明
	图1为本实用新型的结构主视图;
	 
	
	图2为本实用新型的结构左视图;
	 
	
图3为本实用新型的剖视图;
	
图4为本实用新型的立体图。
	
具体实施方式
下面通过实施例结合附图对本实用新型作进一步的描述。
实施例1:
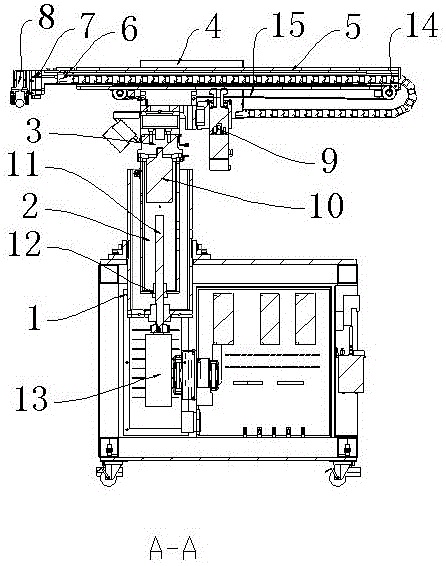
如图1、图2、图3、图4所示,本实施例描述的冲床自动上料机械手,它包括基座1,在基座1上通过立柱2设置有机械臂连接座4,在机械臂连接座4上设置有一号机械臂5,一号机械臂5与机械臂连接座4之间滑动连接,在一号机械臂5上设置有齿条,在机械臂连接座4上设置有一号电动机9,一号电动机9上的齿轮与齿条配合;在一号机械臂5上滑动连接有二号机械臂6,在一号机械臂5的两端设置有导轮14,在导轮14上绕设有皮带15,导轮14一侧的皮带15其中一个位置与机械臂连接座4之间固定连接,导轮14另一侧的皮带15与二号机械臂6之间固定连接;在二号机械臂6的顶端设置有机械手8;在二号机械手8的端部设置有竖直方向的伸缩气缸7,所述的机械手8固定在伸缩气缸7的伸缩端上。
在立柱2的顶端设置有减速器3,减速器3与机械臂连接座4之间转动连接,在立柱2上设置有与减速器3配合连接的二号电动机10。
所述的立柱2与基座1之间滑动连接,立柱2在基座1上竖直滑动;在立柱2上设置有螺母12,在基座1上转动连接有丝杆11,丝杆11穿入螺母12与螺母12之间配合连接,丝杆11的端部与设置在基座1内的三号电动机13之间传动连接。
所述的机械臂连接座4上设置有横向通孔,所述的一号机械臂5设置在横向通孔内,且在横向通孔内滑动连接。所述的一号机械臂5为中空结构,二号机械臂6则设置在一号机械臂5的中空结构内,且在中空结构内滑动连接。
以上内容就是一篇关于机械类专利申请书的范文,希望能够给大家带来帮助。了解更多关于机械类专利申请的事宜,欢迎关注纳杰知识产权微信公众号najieip。
编辑:蜗牛纳@纳杰北京专利申请
本文地址:http://www.bjnajie.com/a/zllingyu/2389.html
	
相关阅读:





