

装配式建筑实用新型专利范文:一种装配式建筑墙体构件
发布时间:2018-11-21装配式建筑实用新型专利范文:一种装配式建筑墙体构件
装配式建筑实用新型专利范文摘要
本实用新型公开了一种装配式建筑墙体构件,所述第一墙体的前端插接于第二L形块和第一L形块之间,所述第二L形块和第一L形块分别插接于两个第一插接槽中,所述第二梯形槽和第三梯形槽相连通,所述第二梯形槽和第三梯形槽中插接有限位条,所述限位条包括左侧梯形限位组件和右侧梯形限位组件,所述左侧梯形限位组件和右侧梯形限位组件的细端相固定,所述左侧梯形限位组件插接于第二梯形槽中,本实用新型安装和拆解都较为快捷,同时本装置的墙体内安装金属网格加强筋,在金属网格加强筋的空隙中添加泡沫层,大大增强了第一墙体和第二墙体的隔音和保温性能,同时保证了第一墙体和第二墙体的坚固程度。
	
装配式建筑实用新型专利范文权利要求
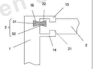
1.一种装配式建筑墙体构件,包括第一墙体(1)和第二墙体(2),所述第一墙体(1)和第二墙体(2)相互插接,其特征在于:所述第一墙体(1)的左侧面和右侧面前端对称竖直开设有第一插接槽(11),所述第一墙体(1)的前表面中部竖直开设有第一梯形槽(12),所述第一墙体(1)的右侧面后端固定安装有第一L形块(13),所述第一墙体(1)的右侧面后端固定安装有第二L形块(14),所述第二L形块(14)位于第一L形块(13)的前方,且第二L形块(14)和第一L形块(13)对称分布,所述第一墙体(1)的右侧面后端开设有第二梯形槽(15),且第二梯形槽(15)位于第二L形块(14)和第一L形块(13)之间;所述第二墙体(2)的左侧面和右侧面前端对称竖直开设有第二插接槽(21),所述第二墙体(2)的前表面中部竖直开设有第三梯形槽(22),所述第二墙体(2)的右侧面后端固定安装有第三L形块(23),所述第二墙体(2)的右侧面后端固定安装有第四L形块(24),所述第四L形块(24)位于第三L形块(23)的前方,且第四L形块(24)和第三L形块(23)对称分布,所述第二墙体(2)的右侧面后端开设有第四梯形槽(25),且第四梯形槽(25)位于第四L形块(24)和第三L形块(23)之间;所述第一墙体(1)的前端插接于第二L形块(14)和第一L形块(13)之间,所述第二L形块(14)和第一L形块(13)分别插接于两个第一插接槽(11)中,所述第二梯形槽(15)和第三梯形槽(22)相连通,所述第二梯形槽(15)和第三梯形槽(22)中插接有限位条(3),所述限位条包括左侧梯形限位组件(31)和右侧梯形限位组件(32),所述左侧梯形限位组件(31)和右侧梯形限位组件(32)的细端相固定,所述左侧梯形限位组件(31)插接于第二梯形槽(15)中,且右侧梯形限位组件(32)插接于第三梯形槽(22)中。2.根据权利要求1所述的一种装配式建筑墙体构件,其特征在于:所述第一墙体(1)和第二墙体(2)的内部结构完全相同,所述第一墙体(1)包括第一金属外层(101)和第二金属外层(102),所述第一金属外层(101)和第二金属外层(102)之间固定连接有金属网格加强筋(103),所述金属网格加强筋(103)的网格空隙中填充有泡沫层(104)。3.根据权利要求2所述的一种装配式建筑墙体构件,其特征在于:所述第一金属外层(101)和第二金属外层(102)的外侧壁镀有防氧化膜(105)。
装配式建筑实用新型专利范文说明书
技术领域
本实用新型涉及建筑技术领域,具体为一种装配式建筑墙体构件。
背景技术
装配式建筑是指用预制的构件在工地装配而成的建筑,这种建筑的优点是建造速度块,受气候条件制约小,节约劳动力并可提高建筑质量。
但是现有的装配式墙体的拼装较为费力,拆卸也很是麻烦,同时现有的装配式墙体的保暖和隔音效果较差,不能满足大众的需求,为了解决上述问题,我们提出了一种装配式建筑墙体构件。
发明内容
本实用新型的目的在于提供一种装配式建筑墙体构件,以解决上述背景技术中提出的问题。
为实现上述目的,本实用新型提供如下技术方案:一种装配式建筑墙体构件,包括第一墙体和第二墙体,所述第一墙体和第二墙体相互插接,所述第一墙体的左侧面和右侧面前端对称竖直开设有第一插接槽,所述第一墙体的前表面中部竖直开设有第一梯形槽,所述第一墙体的右侧面后端固定安装有第一L形块,所述第一墙体的右侧面后端固定安装有第二L形块,所述第二L形块位于第一L形块的前方,且第二L形块和第一L形块对称分布,所述第一墙体的右侧面后端开设有第二梯形槽,且第二梯形槽位于第二L形块和第一L形块之间;
所述第二墙体的左侧面和右侧面前端对称竖直开设有第二插接槽,所述第二墙体的前表面中部竖直开设有第三梯形槽,所述第二墙体的右侧面后端固定安装有第三L形块,所述第二墙体的右侧面后端固定安装有第四L形块,所述第四L形块位于第三L形块的前方,且第四L形块和第三L形块对称分布,所述第二墙体的右侧面后端开设有第四梯形槽,且第四梯形槽位于第四L形块和第三L形块之间;
所述第一墙体的前端插接于第二L形块和第一L形块之间,所述第二L形块和第一L形块分别插接于两个第一插接槽中,所述第二梯形槽和第三梯形槽相连通,所述第二梯形槽和第三梯形槽中插接有限位条,所述限位条包括左侧梯形限位组件和右侧梯形限位组件,所述左侧梯形限位组件和右侧梯形限位组件的细端相固定,所述左侧梯形限位组件插接于第二梯形槽中,且右侧梯形限位组件插接于第三梯形槽中。
优选的,所述第一墙体和第二墙体的内部结构完全相同,所述第一墙体包括第一金属外层和第二金属外层,所述第一金属外层和第二金属外层之间固定连接有金属网格加强筋,所述金属网格加强筋的网格空隙中填充有泡沫层。
优选的,所述第一金属外层和第二金属外层的外侧壁镀有防氧化膜。
与现有技术相比,本实用新型的有益效果是:本实用新型设计了一种装配式建筑墙体构件,本装置通过两面墙体的相互插接来实现两面墙体的固定,这种连接方式操作简便,安装和拆解都较为快捷,同时本装置的墙体内安装金属网格加强筋,在金属网格加强筋的空隙中添加泡沫层,大大增强了第一墙体和第二墙体的隔音和保温性能,同时保证了第一墙体和第二墙体的坚固程度,更符合人们的需求。
编辑:蜗牛纳@北京纳杰专利代理公司
本文地址:http://www.bjnajie.com/a/zllingyu/3661.html
	
猜你想知道:





