北京话也能被注册商标,但这两点你需要牢记!
发布时间:2018-04-20再过一段时间就要放五一假了,蜗牛纳的朋友打电话过来说计划带家人来北京游玩。最初我们聊的都是北京美食和旅游景点,后来不知谁起的话题,聊起了北京话。

朋友在这方面问了好多:比如老北京话的发音是否跟普通话一样、北京的“儿”音怎么念、是否所有北京人都会老北京话等问题。蜗牛纳都给他解答了,在他终于得到满意的答案后才主动结束了这次漫长的对话。
当然,像朋友这样对北京话特别好奇的人还有很多,毕竟在全国各地的方言中,"老北京话"被认为是最具有代表性方言特征的地方语言。因此才如此受到世界各地人们的广泛追捧。

过蜗牛纳此时却有个问题:既然老北京话如此受人追捧,那么是否会有人将老北京话注册成商标呢?于是蜗牛纳就从朋友问过的北京话中挑出部分来搜了下,结果还真有。
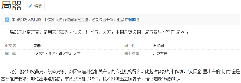
局器

现在好多人都觉得这个词应该写成“局气”,但其实最早是“局器”,用来形容特别仗义、豪爽大方,说话办事守规矩的人。而后来出现的“局气”其实是南方人的叫法。
在商标网上,有13个“局器”商标,其中5个处于待实质审查状态。不过蜗牛纳认为成功率比较高,毕竟是这么局器的名字,商评委也不好小气起来了。

不过比起“局器”来,注册“局气”商标的个人和公司更多,到目前为止总共有27个商标。

不知道现在新北京人是不是也会把“局器”写成“局气”了。
鸡贼

若“局器”有反义词,那一定是“鸡贼”,前者一身浩然正气,后者则看上去只会写歪门邪道。如上图所示,“鸡贼“”用来形容小气、吝啬、有些小聪明的铁公鸡,也还用来形容有点猥琐的人。
这个词属于贬义词,应该没有人会想把它注册成商标。不过从商标网上的信息来看,有个人注册了3个“鸡贼王”商标,分别在29、35和43类别上。

但是这三个商标均未成功注册,想来商评委也很清楚“鸡贼”的意思,不仅格调不高,还可能会造成社会影响,所以可别觉得多加一个字就能注册了。
土鳖

一般提到土鳖,大约会想到一种昆虫。不过这个词同时还是一种方言,并且是两个地方的方言。
在青岛,“土鳖”是指旧时代财主闷声发黑财,压榨劳动人民汗水,又指暗地做坏事却装老实人。而在北京,“土鳖”则是用来形容没见过世面、不开眼的人。(其实东北人也这么形容,想来这个词是全北方人都知道的)
一看解释就明白这还是个贬义词,可偏偏还有人把它注册成商标,理所当然地会跟上面提到的“鸡贼王”商标一样,难以注册成功。

被红方框圈住的这些“土鳖”商标全部被驳回了注册申请,其他的则处于待实质审查状态,但蜗牛纳认为该商标必定无法注册成功,连驳回原因蜗牛纳都替商标审查员想好了:申请商标使用在指定商品上,容易产生社会不良影响,不得作为商标使用!
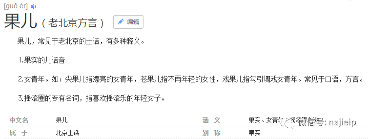
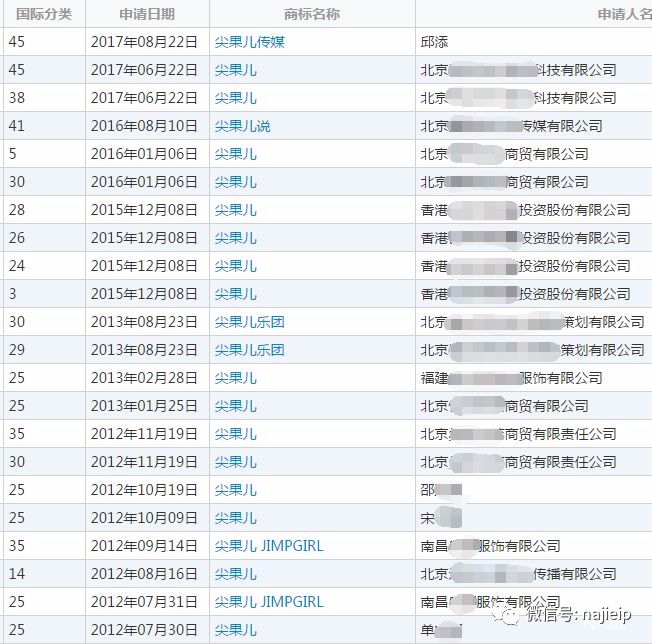
果儿

要说注册商标,还得是很正能量的词才可以,注册“果儿”商标的个人和公司有很多,但蜗牛纳更喜欢“尖果儿”这个词,它是用来形容漂亮的年轻姑娘。
到目前为止共有22个“尖果儿”商标被申请注册,虽然其中有好几个是待实质审查,不过多数已经成功注册了下来,可见其成功率还是蛮高的。

套瓷

头回听说“套瓷”的人可能会误以为这套住瓷器的意思,其实它是套近乎的意思,跟只会骗人的“碰瓷”可不一样喔。
本以为会有不少人注册这个词,然而蜗牛纳却只查到了一家婚姻服务公司注册了45类“套瓷”商标,其范围概括了计划和安排婚礼服务;交友服务;婚姻介绍等。

这家公司用“套瓷”作为婚姻服务行业的商标,想想就觉得挺好笑,就是不知道商评委那边怎么想。
发小儿

先前有个很火的词叫“老铁没毛病”,其中的“老铁”是东北人用来称呼跟自己一起长大的小伙伴。而在北京这边是把一起在胡同里玩大的伙伴称为“发小儿”,当然,也可以用这个词称呼从小学开始就就在一起读书的同学。
注册“老铁”商标的公司特别多,谁让它火呢。相比之下“发小儿”商标就少了许多,到目前为止只有37个商标,其中有10个已经被注册成功,1个被驳回。

注意到没有?有两个“发小儿”商标都在14类上,商标局面对这种情况就会依照我国商标法的规定,采用申请在先原则,受理最先提出的商标注册申请,对在后的商标注册申请予以驳回。
还有不少北京话也注册成了商标,不过蜗牛纳就不在这里发啦,你若有兴趣可以上商标网看看,没准能给你一个起商标名的灵感呢。
总之无论你想注册方言商标亦或是其它名称的商标,牢记商标名称一定要远离格调低、易造成社会不良影响的词汇,切记切记。


MORE | 往期精彩文章
——END——
编辑:蜗牛纳@纳杰知识产权
来源:蜗牛纳@北京纳杰商标代理公司
地址:http://www.bjnajie.com/a/zlsb/2483.html
【纳杰温馨提示】
文中部分图片来源于网络,版权属于原作者,仅以配图表达无他意。另文章仅代表作者观点,不代表本公众号立场,本公众号转载的目的仅用于传递信息,如果您觉得该信息不宜被公众浏览或有其它原因,请联系我们进行删除,感恩谢谢!








