清华大学的机器人乐手火了,空有技巧没情感能“活”多久?
发布时间:2019-05-08现在做机器人的越来越多,从小学生到社会人士,他们制作的机器人种类各有不同。大多数是用来参加比赛的“格斗”型机器人,或是专门做家务的服务型机器人。

不过在进入智能时代后,这些“老版”机器人都可能面临被淘汰的危机。当然,也不排除会进行再升级的可能。
不过有些人却走不一样的路,他们认为新型智能机器人可以再与众不同一些。
还记得前阵子在清华大学上演的音乐舞台剧《墨甲幻音》吗?如果你看过与此相关的新闻,肯定知道演出的主角是三位各具特色的机器人乐手。它们分别是竹笛机器人“玉衡”,箜篌机器人“瑶光”和排鼓机器人“开阳”,而这三位机器人乐手的名字来源于北斗七星中的三颗星。

这是一个非常特别的墨甲机器人乐队,它由清华大学美术学院、清华大学未来实验室,以及希格斯木甲文化(北京)有限公司联合打造。主创团队组建于2018年9月,主要由清华大学师生,以及毕业生创业团队组成。团队中有机器人控制与交互领域专家、雕塑艺术家、新媒体艺术家、音乐家等,是一个横跨多个不同学科的创新团队。
据了解,这还是国内第一支具有中国文化特色的机器人表演团体,并且在其发明者的操作下,向听众演奏出了当代科技、人文艺术与中国文化间的琴瑟和鸣。
看上去挺有意思的,舞台设计得也非常有意境,似乎要以此证明机器人弹奏起音乐来能够和人类一样,可以让听众从中“看”到一个丰富的情感世界。
但令人惋惜的是,机器人再智能也无法展现出人类演奏乐器的韵味。虽说机器人可以进行高难度的乐器表演,甚至还可以因此达到超越人类的演奏水平。但项目首席科学家、清华大学美术学院副教授米海鹏在接受采访的时候坦言道:“该研究中最大的难点就是让机器人演奏出音乐的韵味来。”
比如吹笛子的“玉衡”,它可以不用换气就能实现连续的、跳跃的长音,也可以吹得比普通人还准,但吹出来的音调比较平,并且也毫无人味。

这确实是一个难点,机器人始终是靠程序输入、人为操控才能有所作为的人形电子产品,本就没有什么灵魂一说,更别提想弹奏出有感情的音乐。
除非这样的机器人有自主意识……但蜗牛纳一想到曾经看过的机器人与人类大战影片,就觉得有点可怕。
好吧,现在想这些太早了,如今还都是听从发明者指令才能行动的机器人。
不过演奏型机器人也并非只有《墨甲幻音》的三位机器人乐手,比如风靡整个欧洲,广受家庭、儿童以及青年人的追捧的一款钢琴机器人——“特奥特劳尼克(TEO TRONICO)”,它能够弹奏钢琴,与众不同的是它已经“进化”拥有了53根手指。

还有曾在上海世博会演奏的“机器人女子乐坊”。它们同样是被电脑控制表演民族乐器,其中一个吹葫芦丝的机器人同“玉衡”一班,用内部气泵产生压缩空气并通过口部气阀喷出的方式,吹动乐器以此准确地奏出乐曲。

以及由多个机械臂组成的非人形乐队,它们分别使用电子琴、架子鼓、木琴和锣鼓等多种乐器。

不管是钢琴机器人、机器人女子乐坊,还是多个机械臂组成的乐队,他们的演奏技术都很厉害,特别是那个曾和世界级的钢琴家PK过的钢琴机器人,但它们都缺少了一样东西——情感。
如同墨甲机器人乐队一样,都是机器人在程序的运行下运转的必然结果,并没有艺术中的情感成分。
那么这些演奏型机器人有没有申请专利呢?
蜗牛纳并没有根据上面提到的机器人进行搜索,只是通过专利局官网输入了关键词“演奏机器人”,以此检索到了不少这种类型的机器人专利,只不过他们并不是一个乐队罢了。
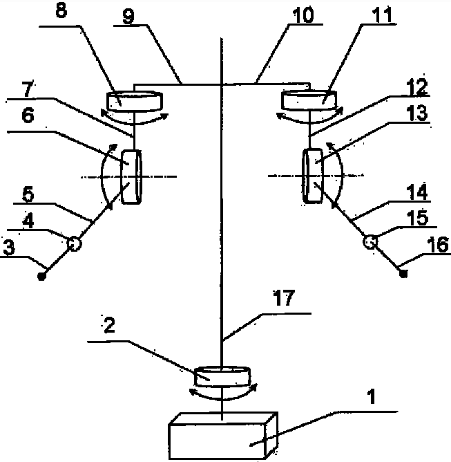
例如这种仿人形结构的木琴演奏机器人。

该专利采用了仿人形结构,使用多路伺服舵机驱动器来模仿人关节部位活动,实现鼓槌的敲打,具有结构简单和高灵活性的特点;并且能够以低成本、高灵活性地进行木琴乐器的演奏。
但要说人形,还是得看看西洋长笛自动演奏机器人。

该专利智能化程度高,集成度高,吹奏曲目更换简单快速,结构灵活,体积小,成本低,能实现灵活的任意标准mid格式长笛独奏曲目选曲演奏。
吹的都有了,怎能没有敲打乐器的木鼓演奏机器人呢?

该专利能够克服传统木鼓演奏的不足,能够结合智能手机自动演奏,直观地给人们演示木鼓演奏的方法和技巧,同时也给人们带来娱乐和享受。
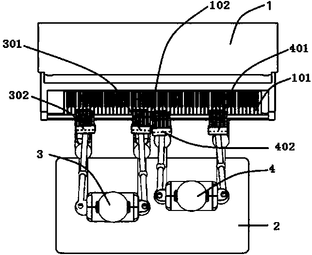
如果说以前的钢琴机器人不具有脚踩踏板的功能,甚至每一个钢琴的音也不能实现延长、截止等效果,那么这种新型钢琴演奏机器人系统会更灵活些。

该专利设置的两侧类人形机器人使用覆盖琴键范围更广,能够完美的演奏出复杂的钢琴曲,演奏过程不会有长时间的停顿,同时又能展示出机器人协作的特点,另外,机器人的脚部可以进行踏板控制。
有人说,那么多机器人被发明出来,以后会不会彻底取代艺术家的地位?
全世界最牛的管理咨询公司麦肯锡曾预测过:到2030年,也就是12年以后,全球将有8亿人因为人工智能而失业!而人工智能将使50%的工作岗位消失。
是的,人工智能势必会在未来开创代替人力劳动的时代,但唯独艺术却很难被取代。因为机器人本身就没有丰富的情感,只能靠过往的艺术文化来输出,可输出的艺术是生硬死板、没有灵魂的。在这点上机器人是不可能和人类一样进行创造艺术,更别提想代替人类从事艺术工作。
不过话又说回来了,不从事艺术工作的普通人以后该怎么生存下去?蜗牛纳建议最好通过学习新知识的方式来提高自己的创造力、想象力和综合能力。这样一来,无论你从事什么行业,都不会被人工智轻而易举地取代。
当然,搞发明也是其中一个需要创造力的工作,只是千万别忘记申请专利,毕竟现在还没有那种可以随时提醒你做好专利保护的机器人。
——END——

编辑:蜗牛纳@北京纳杰专利申请代理机构
本文地址:http://www.bjnajie.com/a/zlsb/4685.html
相关阅读:







