同样是被妈妈骂,我竟然还不如一个小学生!
发布时间:2019-05-16你喜欢雨天吗?是不是觉得撑着伞慢慢走在小路边是一种很浪漫的事情?但对于每天早出晚归的上班族来说,偶尔下场小雨会让城里的空气更好,但要是下的雨再大些,那么自己就不能穿漂亮的鞋子和衣服了,而且在出行方面上也非常不方便。
不仅如此,若是运气不好,在湿衣服还未被晾干时便下了雨,而自己却不在家,那就只好欲哭无泪地把衣服收起来重新洗一遍。
蜗牛纳在南边生活的时候曾经有过这样的经历:白天好不容易把所有洗干净了的衣服挂上晾衣架,可却因为看同学发的电影太过投入,再加上戴的耳机隔开了外界声音,等到发现外头下了大雨时,已为时晚矣。
当时这个心情真是复杂极了,一半是惋惜自己那半天工白做,另一半是害怕父母回家后发现这个事情就来个混合双打。
最后……最后当然没挨揍,但一顿的说教是免不了的。
	
啊!要是有人工智能管家帮忙收衣服该有多好呀,最起码它可以通过每天的天气预报来判断是否要洗、晾衣服。
可惜现在的科技还不能制作出这样厉害的机器人来,顶多生产类似小爱同学的语音机器产品。
估计在蜗牛纳老得快走不动了才能有这样的居家型机器人出现吧。
不过好在已经有不少人发明了一些用来防雨的晾衣架。例如室外防雨衣物晾晒架。
	
该发明有雨天雨布保护衣服不受雨水淋湿的功能,只要按下按钮就可以实现衣杆下滑,这样一来即便是老人和儿童也可以在雨天收衣服了。
不过这里有个缺点:如果忙其他事情把收衣服给忘了,那么衣服还是会被雨淋湿呀。
要是能有个自动防雨的装置就好了。经过专利检索,还真发现有这种自动防雨衣架。
	
该衣架有风箱、雨量传感器和处理器模块。下雨时,处理器模块采集到雨量传感器的变量信号,并控制风扇启动,风扇将劲风鼓入风箱,劲风在细小的出风口加速流出形成气障,防止雨水落到晾晒的衣服上,天晴后风扇自动停止工作。
好像是挺方便的样子,可仅限于雨水小的情况,不然下的雨一大,风扇的风力不足以形成气障将衣服保护起来。
得,看到这里的人可能会说蜗牛纳是鸡蛋里挑骨头。但是发明嘛,不就是从原有的设计上进行新的创造吗?
如果不创新,那么我们现在还是过着80年代那样的生活,一成不变地落后于其他发达国家。
址远了,我们再继续说晾衣服这件小事吧。
在这个没有智能机器人管家的时代,如何在主人外出的时候,让衣服自动被收起来呢?
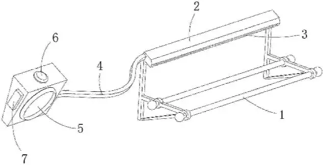
最近有个南宁12岁小学生卢结轲解决了这一问题,他发明了一种可以自动收晾衣服的“防雨神器”——智能晴雨棚。可以在下雨时让衣架自动收回,等天晴了再自动伸出。
	
从卢结轲的讲解来看,他是在“智能晴雨棚”前端安装了一个名叫“雨水感应器”的装置,通过这个装置就能感应到是否下雨,如果感应到了有水落下,就会让其控制器械臂收回,这样晾晒的衣服也就处在了一个不会被雨淋湿的位置了。但卢结轲还让这个防雨神器更完美一些,于是他又加装了“光敏电阻”,只要天一黑,机械臂就会自动收回衣服。
这个操作真的好6啊!然而卢结轲之所以发明“智能晴雨棚”,其原因居然是他有次在下雨时忘记收衣服被妈妈骂了,于是开始动脑筋想怎么让衣服自动被收起来,并和他的爸爸、老师一起研究这个发明。
顺便说下,卢结轲的智能晴雨棚还获得了第34届广西青少年科技创新大赛一等奖呢。
你看,同样是在下雨天忘记收衣服,可蜗牛纳当时只能乖乖站着被骂,然后该干嘛还是干嘛;而卢结轲却在被骂后发明了这种防雨神器。
连网友们都纷纷夸这位小同学,顺带感叹自己被骂得太少了。
	
蜗牛纳也……都是九年义务教育,为何这娃如此的秀呢?!
该发明在构思上是没问题,不过蜗牛纳毕竟是从事知识产权行业的工作嘛,总觉得可以再改进一下。
我们都知道衣服湿了后会比较沉,那么把一堆湿衣服挂在“智能晴雨棚”的架子上,会不会因为其巨大下坠力摧毁掉这套联动装置呢?
说白了就是工艺制造的问题,如果将来把这种防雨神器做成商品投入量产,那么就很有必要在这方面上进行二次创新了。
话又说回来,现在的孩子真的是太厉害了,不论是创造能力还是手动能力,都比我们这一代还更强。
不信的话咱们看看其他神器的发明者。比如杭州春芽实验学校的学生郑元昊鼓捣出的一个“防近视神器”——智能台灯盒子。
	
这个盒子防近视的原理其实很简单,把它夹在台灯杆上,盒子里的超声波传感器会开启,只要看书的时候头部离书太近,盒子就会发出叮叮的响声。小黑盒里还设置了计时器,当看书时间超过一个小时,就会发出警报,提醒学生该休息了。除此之外,这个盒子里还设有一个WIFI接口,据郑元昊介绍,这个WIFI接口有一个特别“高大上”的功能——物联网功能,家长们可以通过手机连接,孩子在课桌前看了多长时间的书,休息了多久,手机上都会显示出来。
凭此发明,郑元昊获得了杭州市中小学生综合实践成果评比的一等奖。
还有达州市达川区百节镇中心学校的初中生李炜,他为了能让拿了许多东西站着乘坐公交车的人把双手解放出来,就突发奇想发明了“公交神器”——公交车上的“第三只手”。
	
该发明利用背背佳和安全带相结合,通过创新设计可固定上半身的安全带,替代原来的手扶,并设计了开关按钮,不仅可以把手解放出来,还能起到安全带的作用。
通过这件作品,李炜获得了第34届青少年科技创新大赛一等奖和本届大赛“青少年科技创新成果”类参赛通行证,将代表四川省参加7月22—28日在澳门特别行政区举办的第34届全国青少年科技创新大赛。
以及威海市实验小学的两位同学王誉轩和于怀瑾发明的“清雪神器”——清雪融雪一体机。
	
整个装置由清雪机和运雪车两部分组成,清雪机清理积雪的同时,积雪通过传送带进入运雪车中进行加热。通过这个装置,积雪无需再用车辆运输到积雪消纳场所进行处理,可以直接通过下水道排出。
在环翠区第十届中小学生科技创新大赛暨首届创客节上,王誉轩和于怀瑾凭借“清雪融雪一体机”获得了机器人创意赛第一名,实验小学获得小学组团体第一名。
还有不少中小学生发明的神器都特别有趣,也非常方便很多人使用。
真真是自古英雄出少年呀,看来咱们将来能不能用上更方便的“神器”,可得看这些孩子们了。
只不过在此之前,蜗牛纳建议学校和家长尽早帮助小发明者们申请专利,这样就能可以利用相关法律法规来保护自己的发明了,避免被不法商家“偷”走变成他们的“独家原创”。
——END——
	
编辑:蜗牛纳@北京纳杰专利申请代理机构
本文地址:http://www.bjnajie.com/a/zlsb/4718.html
相关阅读:







