台湾名嘴说涪陵榨菜贵是对的,因为真的很“贵”!
发布时间:2019-08-16最近关于X独、废青的新闻在网上传播,其实会让这些人做出一些脑残行为,主要还是对我们有所误解,而这种误解都来源于信息上的交流不畅。因此,才会出现各种莫名其妙的谣言,比如大陆人没见过手提包、大陆人买不起电脑等,甚至还有人问上海有没有高楼、大陆有没有地铁之类的问题。
是不是觉得很莫名其妙?这种观念是哪儿来的?
如果老师没有故意抹黑大陆的形象,那么多半是看节目看的。
早在2013年,台北美食学院某教授在台湾一档节目中称“大陆人吃不起茶叶蛋,在深圳火车站吃泡面,引起五六十个人围观,大家觉得这个东西这么香”。
从此,“吃不起茶叶蛋”成为网友挥之不去的一个梗。
	
还有某专家在一档财经节目中称河南跟河北是中国最穷的城市,就他们的收入而言,冷冻水饺是非常昂贵的。
	
虽然他并没有说大陆人吃不起冷冻水饺,但来自河南和河北的网友们表示:冷冻水饺什么时候昂贵过?
本以为在后来的几年里,他们对于大陆人有更多的了解了。然而在近日,有一位先生在台湾某节目上因为榨菜话题引起了争议。
台湾财经专家黄世聪先生在节目中点评了“pei”涪(应该念fú)陵榨菜,股价大跌是因为业绩大坏,而业绩大坏是因为大陆人连榨菜都吃不起,值得警惕。随后又称榨菜在大陆人心目中堪称“泡面搭档”,吃泡面一定要加的,从榨菜的销量和股价可以看出大陆人的生活质量。
	
居然说大陆人吃不起榨菜,而且为什么股价大跌 = 我们吃不起榨菜呢?
蜗牛纳不是很懂黄世聪的逻辑,是什么让他有这样的错误认知?
许是发现自己因为这个话题在大陆火了一把,所以黄世聪在一政论节目中就这个榨菜风波进行了辩解,讲自己为什么会讲大陆人吃不起榨菜的初衷和本意。(此节目的截图均来自图来自风闻社区@大陆男孩看台湾)
	
黄世聪的意思是,他说的是有些人吃不起榨菜,而不是他们都吃不起。
好的,姑且认为他说的是“有些人”吧。蜗牛纳去看了黄世聪讲涪陵榨菜股价的视频,听到“他们连榨菜都吃不起”的这句话并不是黄世聪主动说的,而是该节目主持人站在一旁搭的腔,黄世聪只是在后面接上了这位主持人的话。
但问题是,前面说了大陆民众吃泡面都喜欢配榨菜,那么按照逻辑,在后面说的“他们连榨菜都吃不起”,很容易让观众认为这句话里的“他们” = 大陆民众。并且在所有对话中并没有出现“有些人”的表述。
	
黄世聪在辩解的过程中还特意强调他说的是有些人吃不起,只是很忠实地在反映现在中国大陆的经济状况。
	
emmm……蜗牛纳想问,黄世聪是不是对“忠实”这两个字,也有什么误解呢?
但这不是高潮,高潮在后头呢!
这个节目的主持人在说了“他们底层的人真的吃不起啊!”这句话后,黄世聪表示了赞同,并认为是大陆网友将这样的事情放大,在无形之中才是导致两岸局势紧张的罪魁祸首。末了还说他的榨菜事件做了一件贡献,拯救苦难的中国民众于不开心。
对于黄世聪的言论,大陆网友们表示他们心里有句mmp想表达:
	
连不少台湾网民也对这个台湾“名嘴“以及给他捧场的台湾节目所展现出的无知与水准感到”难堪“:
	
对此,乌江涪陵榨菜也做出了有趣的回应,他们在其官方微博贴出一张寄往台湾省台北的包裹照片,以此感谢黄世聪推荐了中国已有1000年历史的榨菜并激发中国网友炫fu的聪明才智和热情,因此安排寄送一箱榨菜至台北告诉他:“我们吃得起榨菜”。
	
可能黄世聪还没收到榨菜,所以我们又看到他和其他“名嘴”们的活跃。
这位台湾“财经专家”黄世聪于近日又上了台湾另一档政论节目,与其他“财经”名嘴一起聊酒的投资,对比的主要是大陆的茅台、五粮液和台湾的金门高粱。在聊到大陆的酒类价格的时候,“财经”专家邱敏宽先生曝出惊人言论,称大陆经济不景气,导致五粮液价格大涨。
然后他开始“一本正经”的讲“大陆人需要借1300块的五粮液消愁”的段子,而旁边的黄世聪先生连连附和,不时还要插上几句。
	
从大陆人吃不起茶叶蛋,到速冻水饺很贵,再到吃不起榨菜,还要喝五粮液借酒浇愁,这些台湾节目里的奇葩言论,无不说明台湾某些人对大陆的一无所知,或者说是故意抹黑。
其实呢,蜗牛纳认为,不管是榨菜、茶叶蛋还是五粮液,确实都非常贵!
但是,蜗牛纳说的贵,不在于价格,而在于其专利价值上!
我们来看看在2019年大陆的“有些人”被认为吃不起榨菜的专利价值是什么。
榨菜是什么味儿,有咸有甜,有辣也有酸,蜗牛纳作为一个北方“穷”人,最爱吃咸榨菜,越咸越好,这样馒头啊粥呀之类的也吃得津津有味。
那么制作这种咸咸的榨菜,一定少不了盐!
但用来制作涪陵榨菜的盐一点也不贵哦,只是涪陵榨菜集团(下称涪陵集团)的发明专利比较贵罢了。
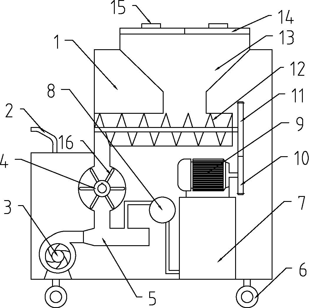
例如自动撒盐机,这是一种可以将咸盐洒在需要物体上的机器;撒盐机一般包括两类,一类是用来喷洒盐为了融雪的机器,一类是用来将盐喷洒到食品上的机器。
	
与现有技术相比,该专利转盘和挡板的设置,可防止风机制造出的风倒灌入螺旋进料器内,也可防止盐料从料斗内吹洒出来;能使用风机将落至空气与料混合仓内的盐料喷出,也能使用水泵对盐料进行加水,在防止对周边环境造成污染的同时,避免对操作人员造成伤害,当然也减少了盐料的浪费。
一般来说榨菜加工需要经过三次腌制发酵,而现有技术的菜腌制液都采用直接排放的方式进行处理,但这种处理方式存在着很多缺陷和不足,甚至有可能造成环境污染。
因此涪陵集团发明了一种利用榨菜腌制液制备的榨菜专用复合调味料的其制备方法。
	
该专利可以专用发酵罐发酵风味转化,调盐调酸厌氧长效贮备,将具有榨菜浓郁风味的榨菜腌制液,用于替代生活饮用水浸提榨菜专用香辛料并乳化为榨菜专用复合调味料,至榨菜腌制液中的营养和风味物质得以回用于榨菜产品,其包括以下步骤,步骤S1,收集,步骤S2,初滤,步骤S3,再滤,步骤S4,三滤,步骤S5,盐度调整,步骤S6,酸度调整。
除此之外,涪陵集团还在晾晒方面下了功夫研究。
由于兴建水库等原因造成我国内陆江河的水位上涨,适用于榨菜风脱水的江边平地面积缩水,所以现在的榨菜的晾晒风脱水一般选在山地搭架,山地的脱水条件不理想,风少,青菜头上架晾晒12-15天时,晾晒收得率为65%-75%,很难达到传统风脱水榨菜晾晒得率为50%左右的要求,蔫菜块脱水程度不够且质量缺陷较多,加工出的风脱水榨菜品质较差。
为了不让青菜头在脱水时出现黑斑、发泫、霉变、硬壳、抽芽等问题。涪陵集团发明出了风脱水榨菜加工新工艺。
	
该专利包括风脱水——浅腌——深腌——晒制——清洗——伴辅料——装坛腌制,其改进点就在于增加了晒制步骤,可以对原先风脱水不足的蔫菜块进行补充脱水,蔫菜头脱水更加充分,降低了出现黑斑、发泫、霉变、硬壳、抽芽等质量问题的几率,另一方面,充分脱水使得蔫菜块食盐含量至10%~11%,此盐含量下的微生物较为活跃,另外,晒制时蔫菜块温度升高,且能够与氧气充分接触,提高有氧微生物的反应活度,使得蔫菜块的风味更佳。
这些都是发明专利,在获得国家知识产权局颁发的发明专利证书后,就代表涪陵集团可凭此保护自己的发明成果,既能防止科研成果流失,又能有利于科技进步和经济发展,并且他们还可通过申请专利的方式占据新技术及其产品的市场空间,获得相应的经济利益。
至于专利本身价值,简单点说有以下七点:
1、独占专利权覆盖范围内的市场;
2、确保自身生产和销售的安全性,防止对手的专利诉讼;
3、取得国家的专利扶持政策,包括专利奖励政策和高新技术企业政策等;
4、对仿冒者发起诉讼,保护市场;
5、避免其他公司申请同类专利反过来对己方发起诉讼;
6、作为技术输出型公司,出售或授权专利获得利益;
7、市场宣传。
我们都知道,专利作为一种对于新技术保护的制度,能够给申请人一方带来很大的利润,其中一些实用性较高有能够极大方便人们生活的发明专利可堪称无价。
所以,论价值很多人都这样说,在这三种专利类型中就发明专利价值是最高的,实用新型专利次之,最没用的就是外观设计专利。
但在蜗牛纳看来,涪陵集团的外观设计专利也很贵,比起他们的发明专利来有着相同的价值。
	
想想2012年松下的“美容器”外观设计专利侵权纠纷案,因为有两家公司生产、销售的同类产品侵犯了该公司外观设计专利权,因此将两公司告上法院,最后获赔320万元。
还有RIO鸡尾酒的外观设计专利侵权纠纷案,在历经3次公开开庭审理后,终于在2017年2月获赔经济损失300万元及合理支出4200元。
假如涪陵榨菜的外观设计专利也被哪家公司给侵权了,那么涪陵集团可起诉侵权公司,以此维护自己的合法权益。
这么一看,试试瞬间觉得涪陵榨菜的外观闪着金光呢?
原来我们“穷”人居然在吃这么“贵”的榨菜吗?奢侈!太奢侈了!
说起来,不光是涪陵榨菜,像茶叶蛋、五粮液等,他们的外观也都闪着金光呢。
最近微博上出现了新晋的四大奢侈品:榨菜项链、茶叶蛋戒指,五粮液耳环和方便面包包。
	
要是真的有产品,恐怕会有人申请相关的外观设计专利,其价值也不比涪陵榨菜低呀!
不过话又说回来了,影响专利价值的因素,归根结底还是产品和市场,与专利类型并无直接关系。一旦有产品有市场,实用新型专利和外观专利,在价值上超越发明专利也并非不可能。
总之,只要产品好,任何公司申请的任意类型的专利都具有无穷的价值。
至于咱大陆人是不是吃或消费得起某产品,就不关某些专家的事儿了。庄子有句话说得很对:“井蛙不可以语于海者,拘于虚也;夏虫不可以语于冰者,笃于时也;曲士不可以语于道者,束于教也。”
所以呀,咱们就没必要再和这种孤陋寡闻的“专家”讨论吃不吃得起的问题了,毕竟人家见识短。
蜗牛纳建议大家最好专心搞自己的产品,做好知识产权保护,走自己的路让别人说去吧!
——END——
	
编辑:蜗牛纳@北京纳杰专利申请代理机构
本文地址:http://www.bjnajie.com/a/zlsb/5222.html
相关阅读:







