拿什么能拯救2.5亿脱发人群日渐稀少的头发?
发布时间:2019-08-28今天微博上刷起了一个#留中分最好看的人#话题,蜗牛纳点进去看,几乎都是中分发型的艺人宣传照,为什么很少看到普通男/女网友的中分照呢?
因为,有些人中分的那条线太明显了,看上去就像是快秃了一样,时间一长就“条条大路通罗马”。
emmm……谁让现在脱发的年轻人是越来越多了呢?
据@人民日报 微博、@新浪新闻 微博的报道:近年来我国脱发人群呈直线上升趋势,有数据显示,我国脱发的人群已经超过2.5亿,每6人就有1人脱发!
在下不才,恰好是这2.5亿的其中一个……
	
你是不知道啊,天天码字的蜗牛纳,码字码出了一脸苦相,码掉了一大把头发,码没了一个风华正茂的小年轻。
比起老,蜗牛纳更怕的是“秃”然脱发!!!
但是为了保住头发就不工作,这是不阔以的,毕竟人类没了钱吃东西,头发能掉得更多,然后没头发了就没对象,最后孤独终老。
想想就觉得这个结局凄惨无比。
所以,2.5亿的脱发人群该怎么拯救自己的头发呢?
	
近几年,我国的植发行业呈现出井喷式的发展。植发从年龄上看主要有两个峰值:一是23-25岁,这部分主要是大学刚毕业、先天性发量不足的人群。另一个是34-36岁,这部分主要是关注自身形象且收入稳定人群。
为保住“头顶大事”,被“脱发焦虑”问题困扰着的年轻人们,纷纷选择去植发,并相信这个方法就可以“一劳永逸”地解决脱发情况。
据了解,目前市场上的植发技术主要分为两种,而费用都是按取一个毛囊单位来计算,一般一个毛囊单位的价格是10元到20元不等,而一次植发的数量大概在3000毛囊单位左右,那么市面上一次植发的价格差不多就是3万元左右。
	
是不是觉得有点贵呀?而且植发手术一般是取后枕部的毛囊作为发源,这部分毛囊取出后头发是不能再次生长的,毕竟我们人体的毛囊是不可再生资源。
虽然被植走毛囊的部分没法长出头发来,但是也不用担心后枕部会光秃的现象发生,因为在提取时是按照艺术性的分散提取的,而且后枕部毛发本来就很密集,提取之后不会影响后枕部美观的。
也就是说,被取走毛囊的地方会被周围的头发盖住,所以没人知道自己植过发的事情。
那么医院、医美机构通常是用什么器具或方法给人植发呢?
这就需要在专利局检索一下了,蜗牛纳在输入关键词后发现与此相关的专利申请竟有不少呢。
植 发
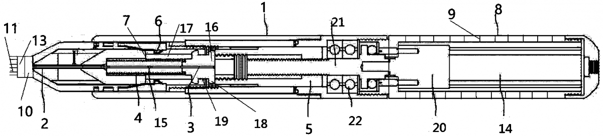
对于脱发患者,传统的手术方式分别为FUT和FUE技术。这两种手术方法的共同点是均要不同程度的剪去毛发,很多患者对剪去头发有抗拒的心理。
随着一种LHT长发植发方法的开展,一年来要求使用此手术方法治疗的脱发患者越来越多,满足了不同人群的需求,为手术痕迹最不明显的手术方法。
	
于是才有了这一种不剪头发,而将整根头发包含长发完整提取出来,并种植到脱发区的方法。适用于男性型秃发、女性型秃发、瘢痕性秃发,特别适合男性女性发际线调整、眉毛睫毛种植、胡须鬓角种植以及体毛的种植。使用最佳方案,达到最理想效果;术后即刻效果显著,没有明显手术痕迹。
如果想让毛囊很好的生长,可能会很需要一种植发多功能护理仪。该发明能够在植发过程中为毛囊提供生长所需的营养剂,从而保证毛囊在移植之后能够存活,并在植发过程中直接对头皮进行加热滋养,改善头皮环境,保证毛囊能够健康生长,具有良好的植发效果。
	
它的操作较为简单,能够减轻被植发者的痛苦,属于真正集植发、滋养和护理于一身,并实现了多功能化的一起。
植发之后就没什么事儿了吗?不不不,在植发手术后真的不能太大意。
众所周知,绝大多数患者的脱发的地方都在头顶部、两侧及后枕部。通常来说接受过自体毛发移植的患者,其供发区应在术后3天内加压包扎,防止出血以及感染;而受发区应保证相对的无菌,防止感染以及见水,且需要保持至少一周的时间。
但不少患者在接受植发后回到家,并没有专用的保护帽佩戴,再加上术后的护理只能依靠个人自觉,因此部分被植发人会出现感染的情况的发生。
为了解决这个问题,有人发明了一种秃脱发患者植发术后专用保护帽。
	
该专利不仅能对供发区进行加压止血,而且还能起到受发区无菌防尘防水的目的;尤其适用于前额秃、两侧秃以及地中海秃头的患者。
不过植发能不能成功,还是得看植发人的技术呀。虽说他们在植发过程中,会使用到手术放大镜,它作为一种司空见惯的医疗器械,发挥着不可替代的作用。
然而现有的手术放大镜视角较为狭窄,且镜头处的聚光作用差,无法满足在加密种植植发手术过程中对于明亮视野的要求。
因此,有某公司发明了一种用于DHT加密种植手术的放大镜,以此解决相关技术中镜头视角较为狭窄且镜头处的聚光作用差的技术问题。
	
该专利通过在采用主透镜与辅助透镜相连接的方式,通过在主透镜上添加一片具有扩大视场角效果的辅助透镜,从而实现了增大视场角的有益效果,凹面聚光镜可以在镜头位置汇聚光线,形成明亮的视野,进而解决了手术放大镜视角狭窄且视野光线差的技术问题。
只是植发手术的费用实在太贵了,如果有像蜗牛纳一样囊中羞涩的人,会购买专门治疗脱发的洗发水,或是去医院使用生发仪。
防 脱 发
一种防脱发精华乳,它涉及发用化妆品技术领域。它由以下原料组成:生姜、桐叶、侧柏叶、白首乌、微细蛋白、小麦蛋白、椰油单乙醇酰胺、乙二醇硬脂酸酯、柠檬酸、香精、去离子水;按照计量配比取上述原料根据一种防脱发精华乳及其制备方法加工即可完成制备。
	
本发明有益效果为:促进头发增长,目前市场上洗发露一般用于修复发质,清洁作用,市场尚缺乏促进头发增长的产品,本产品除了促进头发增长外,还修护发质发根,有效减少掉发,它具有方法简单、成本低廉、使用方便且无副作用等优点。
中医通常将脱发分为肝肾阴虚、气血不足、脾虚湿盛等。针对不同的脱发原因,中医治疗中常采用内调外治相结合的方式。将药液直接通过头皮吸收是一种有效的外治方式,目前临床上常用的方法是通过按摩等手法将药液经皮吸收。
只是脱发人群更希望使用外用脱发治疗药剂来治疗脱发,省得天天找中医帮忙了。
防脱发中药梳子倒是可以满足脱发人群的要求,他们可以自己将药液灌装在梳子内,通过梳头的动作,实现按摩、刺激头皮,促使头皮吸收药液,很是方便脱发人群日常用药,并极大提高了用药效果。
	
不过也别高兴得太早,因为央视财经列举了一些消费者对于脱发和植发的误解,以免为发而愁的我们误入歧途。
可是有防脱发的梳子也不一定能拯救头发,毕竟现在人们脑力劳动正不断增加,总是因为精神压力过大导致脱发。有药物治疗,可药物的渗透和吸收往往达不到预期的治疗效果。
后来才有了生发仪的发明,只是原先的生发仪不能对多种因素造成的脱发进行调理,使用方面具有局限性,不能满足多种消费者的生发需求。而且传统的喷雾生发仪容易导致生发液形成的雾气扩散到空气,造成浪费,而且喷在头上的生发液形成水滴会流到脸上,造成不好的使用体验。
为此,有人将生发仪进行了改良。
	
该专利的震动电机可将雾化后的生发液经LED灯罩上的雾化通孔喷射出来,让LED灯罩上的红光LED灯能照射到患者的头部,这对患者的生发产生较好的综合作用。而装饰盖上的挡水墙也可较好的阻挡生发液流到患者的面部。
相关的发明还有许多,这让脱发人群看到了一线希望。但若想达到永久不脱发的目的,并幻想使用某某产品后就能拥有跟长发公主一样的发量,蜗牛纳只能说这都是充满遐想的希望罢了。
是不是有很多广告写着“植一次发就行”、“完全可以治疗”、“永久不秃”等宣传语?如果你相信了这种话,就已经进入了三个误区:
误区一:洗发水和生发仪可以有效治疗脱发
很多脱发人群会选择护发、生发产品,但就常见的雄性激素脱发而言,市面上的生发仪和洗发水,除了可以改善头皮缓解、填补发丝中的毛鳞片外,对扭转脱发其实并无根本性的效果。治疗脱发,还是建议及时去医院诊断。
误区二:植发一次就可一劳永逸
毛发移植并不能阻止其原有的头发继续脱落,无法做到从根本上治疗脱发。因此专家建议,植发只是改变了头发生长的部位,而如果患者仍有继续脱发的情况,就需要进一步到医院诊治。
误区三:钻头越小越好、植发越密越好
一些植发机构为了提高客单价,用各种新技术名词故意提高消费者的理解门槛,从而让消费者付出更多的金钱。专家表示,治疗方法因人而异,植发效果也并非越密越好。
现在市面上声称能治疗脱发的洗发水有很多,但实事求是的讲,没有一款洗发水能够治疗脱发,顶多能够改善一下头皮而已。
植发虽然可以缓解脱发状况,但毕竟羊毛出在羊身上,当地方支援不了中央的时候,连植发也无可奈何。
所以说,不管是植发,还是市面上的生发仪和洗发水,除了可以补充头顶上的“空白区”、改善头皮环境、填补发丝中的毛鳞片外,在治疗脱发方面上其实并无根本性的效果。
	
既然2.5亿的脱发问题不能彻底解决,那么就只好努力护住所剩不多的发量了,让秃来得更晚些。
最好的办法,就是改变生活习惯,拒绝熬夜。脱发严重的配合药物(比如米诺地尔、非那雄胺等)治疗,但是必须要谨遵医嘱噢!
采用以上方法,大概、也许、或者、可能会有所改善吧……
如果还是不行,戴假发也是个不错的选择。
但换个思路想,咱们虽然秃了,但也变强了呀。
都说聪明的脑袋不长毛,想来咱大天朝的2.5亿脱发人群都是聪明绝顶的人才!而且还曾有研究证明,秃头的人总是被认为是更聪明也更有智慧的类型。
	
不管你信不信,反正蜗牛纳信了!让我们一起变得更秃强吧!
——END——
	
编辑:蜗牛纳@北京纳杰专利申请代理机构
本文地址:http://www.bjnajie.com/a/zlsb/5269.html
相关阅读:







