-
专利
专利无效宣告 食品专利申请 日本专利申请 家具专利费用 发明专利费用 专利申请流程 -
商标
北京商标注册 国际商标注册 商标流程费用 商标驳回复审 香港商标注册 美国商标注册 -
版权
美术版权登记 版权代理注册 软件版权登记 汇编作品版权 文字作品版权 版权登记费用 -
法律服务


乔欣杨洋很忙,快提醒他们做这件事!
发布时间:2019-05-10近几天,乔欣杨洋可谓是热搜高高挂,一点不害怕。只是可怜了那些粉丝,操碎了心呀有木有!对此我只想对这些粉丝说:乔欣杨洋又何妨,他们又没有拜堂。即便真的没一起,你也成不了新郎(娘)!
所以说,淡定吃瓜,切勿撕逼,不要给爱豆招黑。再说了,如果你觉得必须要为爱豆做点事情,我觉得下面这些或许对他们更有帮助。
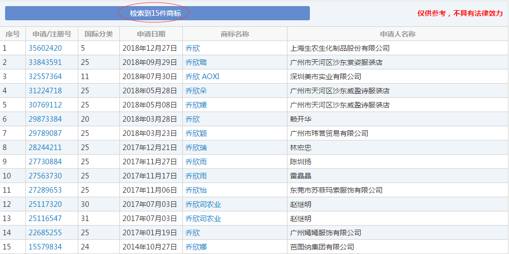
通过商标局官网查询发现,以“乔欣”为关键词检索可以检索到15件商标,以“杨洋”为关键词检索可以检索到49件商标。


说到“杨洋”商标,我们可以看到有一个叫杨洋的人注册了“杨洋”商标,很好奇这个人是不是杨洋本人。
且不管这位申请人是否为明星杨洋,咱们再聊聊乔欣吧!商标局检索查询发现有15件“乔欣”商标,好的,才15件“乔欣”商标不算什么事儿,但接下来我要说的会让你觉得:咿?这事其实还挺大的嘛!因为商标界里的”乔欣“比被杨洋脑残粉喷的乔欣还更惨!惨到什么程度了呢?原来这个名字的商标被注册成了马桶座圈、坐便器、杀虫灭蝇剂等。
你看,和“乔欣”相比,“杨洋”是不是好太多了?虽然他的名字商标被注册得比较多,但其类别并没有“乔欣”那么惨,大多是衣服、化妆品等之类的,实在无伤大雅!可话又说回来了,自己的名字被注册成商标总是不太好。想象一下,当有一天你走在街上看到有人在叫卖“杨洋”牌或者“乔欣”牌的内衣、马桶或者其它产品的时候……艾玛,就算我不是他们的粉丝,也不敢想象这个画面呀!
既然不敢想象,那又该怎么办呢?答案是无效掉它们!这点我建议可以向黄渤、范冰冰学习,看看前辈们都是怎么做的。
黄渤

范冰冰

2017年最高人民法院发布的《关于审理商标授权确权行政案件若干问题的规定》第五条明确表示:
商标标志或者其构成要素可能对我国社会公共利益和公共秩序产生消极、负面影响的,人民法院可以认定其属于商标法第十条第一款第(八)项规定的“其他不良影响”。
将政治、经济、文化、宗教、民族等领域公众人物姓名等申请注册为商标,属于前款所指的“其他不良影响”。
所以,乔欣杨洋的粉丝们,别再撕逼了,提醒你们的爱豆不要变成马桶、化妆品才是正事!
顺便提下,今天是中国品牌日,让我们一起为中国品牌疯狂打call!
编辑:蜗牛纳@北京纳杰注册商标代理
地址:http://www.bjnajie.com/a/sbpb/4695.html
相关文章:
其它业务:





