-
专利
专利无效宣告 食品专利申请 日本专利申请 家具专利费用 发明专利费用 专利申请流程 -
商标
北京商标注册 国际商标注册 商标流程费用 商标驳回复审 香港商标注册 美国商标注册 -
版权
美术版权登记 版权代理注册 软件版权登记 汇编作品版权 文字作品版权 版权登记费用 -
法律服务


光线抢注哪吒商标,一个月内申请1800+件
发布时间:2019-09-04好棒啊!由北京光线传媒出品的电影《哪吒之魔童降世》(下称哪吒)于7月26日全国上映后,截止到9月2日票房数统计已经突破了47亿!

目前《哪吒》的票房成绩直逼吴京的《战狼2》,在《哪吒》电影下映之前,不知道它的票房最后会不会超越《战狼2》(票房56.83亿)成为中国影史票房第一名。
《哪吒》让我们所有人都看到了国产动画的未来,不仅网友,连各大媒体官方都纷纷称赞其为“国漫之光”。
作为出品方的北京光线影业有限公司(下称光线)的股票也跟着大涨,本来该是件让人高兴的事儿,但光线却在担忧着《哪吒》的发展前景。
可能光线在《哪吒》电影上映之初,并未料到能获取这样好的成绩,因此他们也没有做相关的商标保护。
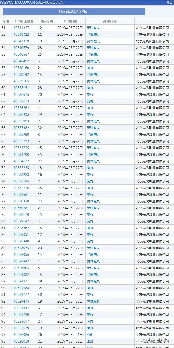
后来在8月9日开始到目前,光线一口气提交了1820件商标注册申请,商标内容几乎囊括了与电影有关的一切名称,比如魔童哪吒、殷夫人、魔丸等……

从注册日期来看,光线是在《哪吒》电影上映了半个月才开始注册相关商标。
但在此之前,已经有不少人提交了相似的商标注册申请。所以光线这边很担心再不注册商标的话,可能会让《哪吒》的发展受到阻碍,届时想顺利地在海外上映也可能面临各种商标侵权纠纷事件。

但是,让众多网友们最为担心的是,光线此举是否有违反《商标法》大量囤积商标的嫌疑呢?
一般来说,公司在多个类别的商品和服务上申请注册了1000余件商标,若其中包括了大量与他人早先注册的商标近似,且并非基于生产经营活动的需要,那么此举可能属于无正当理由大量囤积商标,牟取不正当利益的行为,违反了商标法第四条的规定。
商标法第四条第一款规定:“自然人、法人或者其他组织在生产经营活动中,对其商品或者服务需要取得商标专用权的,应当向商标局申请商标注册。”根据该规定,自然人、法人或者其他组织申请注册商标应出于生产经营活动的需要。
而且,如果商标申请人违反了商标法第四条规定,也没有真实使用目的,就无正当理由大量囤积商标,一次牟取不正当利益,那么还可以认定这个行为属于商标法第四十四条第一款规定的“其他不正当手段”。
不过话又说回来了,申请注册一个神话人物名称为商标,是不是不太合适呢?
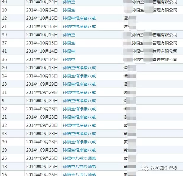
蜗牛纳上商标局查询了下其他知名度很高的神话人物名称,发现有不少相关商标均已被注册。
比如孙悟空猪八戒:

还有女娲、托塔李天王、牛魔王等等,也大都已注册了成商标。

所以哪吒也可以被注册商标,但前提是,申请的流程必须要合法。
至于光线注册时间过晚的问题,可以给出光线是《哪吒》的出品方的证明,那么该公司对于《哪吒》的相关商标注册是享有占先权的。从目前看,光线影业大量注册‘哪吒’商标行为属于保护性注册。
如果光线的保护性注册商标最后因为缺乏显著性而被驳回的话,最大原因可能是商标本身并未被使用。
不过《商标法》第十一条第一款有规定:如果已形成特定的市场含义,并成为相关公众识别该使用人提供的商品/服务的标志的,应当依据《商标法》第十一条第二款的规定,判定其可以作为商标注册。
因此,缺乏显著性的商标可以通过使用而取得显著性,从而获得注册。
比如在各大媒体平台对其《哪吒》相关的核心品牌进行广告宣传,让与《哪吒》有关的品牌在行业内具备一定知名度和影响力。
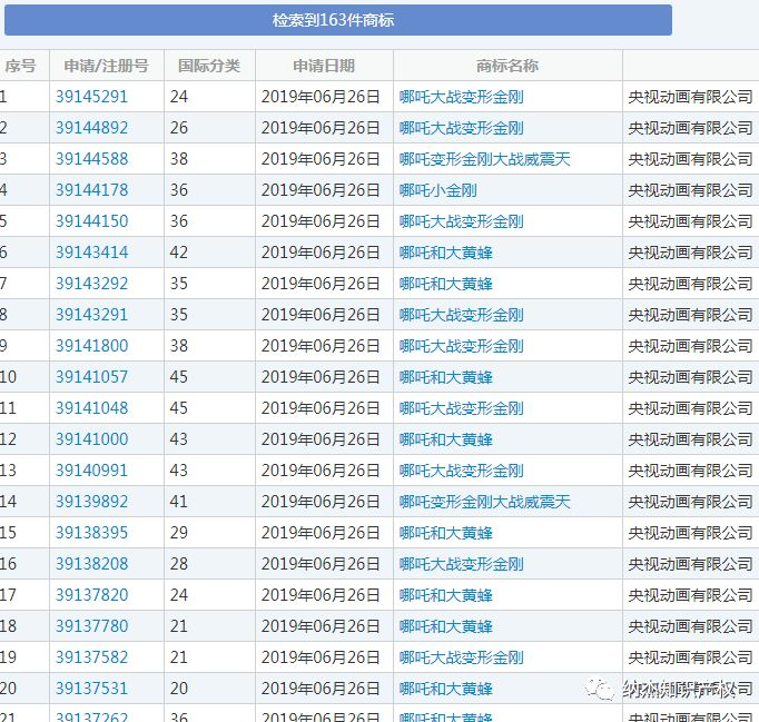
但光线目前只是申请注册,并不代表最终能够注册成功,毕竟此前央视动画也注册过哪吒相关的商标,不也有部分被驳回了吗?

但是呢,央视动画很早便针对哪吒小金刚进行了商标垄断申请保护,其他公司想抢注也没有机会。可光线不一样,他们注册的时间太晚了,虽说享有占先权,可到底能不能注册下来,始终让人心里没底。。
如今,动漫知识产权(IP)保护已越来越受到业界的重视。除了商标注册之外,动漫形象的版权登记和专利申请也应该都要抓起来。因为衍生品仿制、盗版和商标抢注均是国产动漫在知识产权保护路上的三大拦路虎。
——END——
本文地址:http://www.bjnajie.com/a/sbpb/5301.html

相关阅读





