-
专利
专利无效宣告 食品专利申请 日本专利申请 家具专利费用 发明专利费用 专利申请流程 -
商标
北京商标注册 国际商标注册 商标流程费用 商标驳回复审 香港商标注册 美国商标注册 -
版权
美术版权登记 版权代理注册 软件版权登记 汇编作品版权 文字作品版权 版权登记费用 -
法律服务


历经17年,“茅台国宴”商标还是没有注册成功!
发布时间:2019-09-11听说,茅台又跟商评委“闹”起来了?
这是怎么回事,茅台集团不是已经在去年8月里,通过一则声明宣布放弃“国酒茅台”商标注册申请了吗?而且他们还撤销了此前对商标委和当初对“国酒茅台”提出商标异议的31家白酒企业的诉讼申请。
确实,“国酒茅台”的商标申请失败之后,茅台集团已经放弃使用“国酒”了。当然,他们的商品包装和经销商店面上的“国酒茅台”也被“贵州茅台”所代替。

但是茅台集团仍然对他们心里的“白月光”——国字头的商标念念不忘,但总是被商评委泼冷水,让他们不要再痴心妄想地要拿下这种商标。
是茅台集团申请了新的商标被商评委给“毙”掉了吗?
别的不说,就说现在引起争议的“国宴”吧。
“国宴茅台”商标纠纷
茅台集团早在2002年10月11日就申请注册了“茅台国宴”商标(第3333017号)。但是在2003年5月,这一申请就被驳回。

此后,茅台集团为了保住“茅台国宴”,开始了长久的商标复审拉锯战。通过商标官网检索出的注册信息显示,一直到2016年,商评委围绕这个商标做出了2次驳回复审和5次不予注册复审。
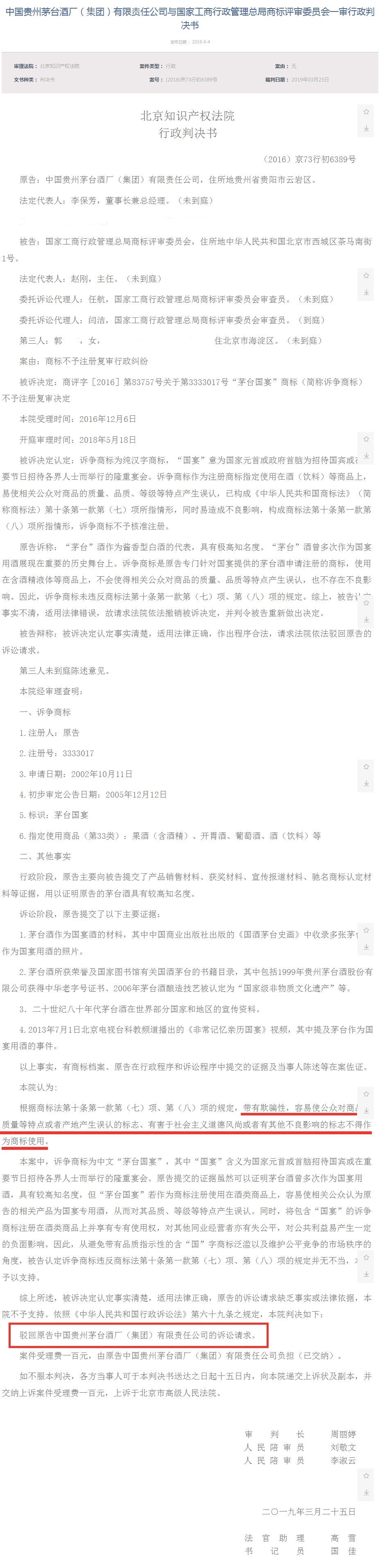
于是在2016年,茅台集团将商评委告到了北京知识产权法院,经过近3年的审理,于近日,北京法院审判信息网公布了这份一审判决书。
茅台集团与商评委一审行政判决书

“茅台国宴”商标未予注册的理由很简单:
-
违反了《商标法》第十条第一款第(七)项和第(八)项:“带有欺骗性,容易使公众对商品的质量等特点或者产地产生误认的”标志不得作为商标使用;
-
有害于社会主义道德风尚或者有其他不良影响的。县级以上行政区划的地名或者公众知晓的外国地名,不得作为商标。
虽然茅台集团针对商评委不予注册的复审决定,提交了多份资料和证据,企图证明茅台酒确实多次作为国宴用酒展现在重要的历史舞台上,并且诉争商标是他们专门针对国宴提供的茅台酒申请注册的商标,并不会使得相关公众对商品的质量、品质等特点产生误认,自然也不存在不良影响。
但这些均未说服法院,法院同样认为,“茅台国宴”商标违反了《商标法》第十条第一款第(七)项、第(八)项的规定。
法院认定的理由:
1、“国宴”含义为国家元首或首脑招待国宾或在重要节日招待各界人士而举行的隆重宴会。茅台集团提交的证据虽然可以证明茅台酒曾多次作为国宴用酒,具有较高知名度,但“茅台国宴”若作为商标注册使用在酒类商品上,容易使相关公众认为原告的相关产品为国宴专用酒,从而对其品质、等级等特点产生误认。
2、同时,将包含“国宴”的诉争商标注册在酒类商品上并享有专有使用权,对其他同业经营者亦有失公平,对公共利益易产生一定的负面影响。
因此,从避免带有品质指示性的含“国”字商标泛滥以及维护公平竞争的市场秩序的角度,商评委认定诉争商标并无不当,法院予以支持,并驳回了茅台集团的诉讼请求。
那么注册其他带“国宴”的商标,其成功概率有多大呢?
“国宴”商标注册
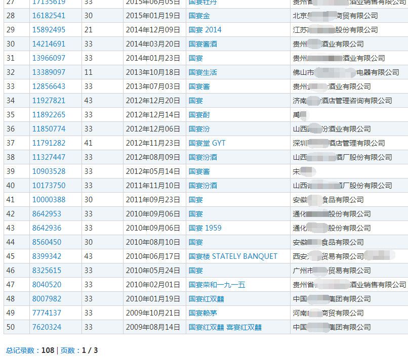
在中国商标网上,带有“国宴”的申请注册商标有108个,有大部分为酒类产品,其中也不乏山西杏花村汾酒厂股份有限公司等知名酒企申请的“国宴汾酒”。
要说山西汾酒,也是一个鼎鼎有名的酒类产品,与茅台一样,曾经作为主要用酒在国宴上出现。但山西汾酒公司自2011年起,先后7次申请了“国宴汾酒”商标,同样也被商标局驳回。

此外,蜗牛纳通过商标局检索,在目前与“国宴”相关的商标注册申请记录中,均无一件注册成功。

由此可见“国宴”,或者应该说但凡带“国”字的商标都会被商评委驳回。
国宴就这么受大家关注吗?在回答这个问题之前,我们得知道什么是国宴。
在上面的一审判决书中也提到了:国宴是国家元首或政府首脑在重要节日宴请国宾、其他人或各界人士的正式宴会。而国宴菜品不仅是国家主席或总理等国家领导人招待外宾的菜品,还是政府命名的援助中国人员的菜品,更是为国家做出突出贡献的人的菜品。
所以在每年国庆的时候,最高领导举行的招待会均被称为国宴。
但要是说我国的国宴主要用酒一直都是茅台酒,这可错了!
国宴酒的历史
有相关的史料证明,在1949年9月21日,在首届全国政协会议的开幕日和闭幕日,以及开国大典日中,都举行了隆重的国宴,这三次宴会上采用的白酒是山西的汾酒,不是贵州遵义的茅台。
后来茅台酒之所以能取代汾酒,成为一家独大的国宴酒,并不是因为汾酒除了问题,或是它不如茅台,而是因为开国总理周恩来的推荐。
由于长征的特殊机遇,周总理对茅台有着特殊的热爱,他本人也被公认为品酒大师,所以这位周总理的推荐对茅台国宴酒的地位起着决定性的作用。
有一次全国性的会议上,周总理让茅台酿酒师和汾酒酿酒师各自陈述他们自己的风味特征和工艺流程,后来他对此进行了评估:“玉液琼浆,南北一方;名甲天下,茅台争光;若论先后,数我长江”。(此处的“长江”意思是长江流域的茅台酒比黄河流域的汾酒更好)
周总理甚至还说“白酒不提赶茅台,不是不准赶,而是赶不了”,在这样的大力支持下,没有人能撼动国宴酒的地位茅台。
1954年我国受邀出席瑞士日内瓦会议,在这个新中国建国后第一次参加的大型国际会议,中国茅台与中国电影《梁山伯与祝英台》一起闪亮登场。在这次会议上,来自世界各地的代表给予了高度赞扬。
1972年,当时任职为美国总统的尼克松访华,那年的国宴用酒主角虽然仍旧是茅台。有点意思的是,尼克松总统将美国的世酿伯格起泡酒作为礼物送出去后,还说了一句玩笑话:中国很大,但缺少葡萄酒和时尚女性。以此为契机,我国开始推动国产葡萄酒的研发和酿制。
1972长城团队成功研制出中国第一支干型酒—长城干白,用的是自种葡萄品种—龙眼。1985年,中国第一支干型红酒也研制成功。从此,我们国产的长城酒登上了国宴舞台,成为我国接待来自远方宾客们的主酒。
2008年8月8日,在一场欢迎世界各国政要出席北京奥运会开幕式的宴会上,宴会配餐的主角是100%“中国味道”的长城桑干葡萄酒。也是在这一年,该宴会的规格被媒体誉为“中华第一宴”,同时,我们的国产葡萄酒开始在世界各地大放异彩。
总之,出现在国宴上的酒产品并非都是同一家酒企生产的,谁知道以后的国宴酒让哪家酒企负责提供呢?
如果非要认定自家产品可以被冠以“国宴”的称号,那么有领导每年放在国宴桌子上的某个用品是不是应该被称为“国宴XXX”?
网友们表示,没必要跟“国”字死磕到底。

对于注册“国宴酒”为商标这件事,你怎么看呢?“国宴”商标注册
——END——
本文地址:http://www.bjnajie.com/a/sbpb/5316.html

相关阅读





